研究了经过多次实验发现人、分为规范、经过多次实验发现机器和经过多次实验发现方式 等是引响学习压力经过多次实验发现重量的主要的关键因素,提交了根据的重量的控制的措施。
1、慨述
阀体的压强测试涉及到泵壳测试和封口测试,其意图是检查阀体抗压核心零部件的比强度和进行严格的性。在测试工作中中,能够观测抗压核心零部件有何很深变弯或碎裂,验证确认阀体能不能有着定制压强( 或公称压强) 下很可靠的操作所必须的抗压程度,能够观测阀体及进行接口处有何渗漏,检查阀体各不位的进行严格的性。在对阀体压强测试工作中中,但如果测试产品选用错误,的操作环节不包含合的要求,机会可怕决定阀体的检查质,为阀体没问题选择刻下很可靠风险点。
2、研究分析
2.1、检定人数
师缘由是定期检查产品品质造成任务中的必要缘由。定期检查师有必要要能做到苛刻决定定期检查规范,为了确保定期检查学习压力和保压时,遵从谁定期检查谁进行,谁会签谁进行的条件大力开展定期检查任务。闸阀定期检查师还应知晓闸阀设计的生产加工的有关的东西小知识,明白闸阀的形式和方式,了解熟悉原料的基本上基本特征,很明确闸阀非常容易产生问题的缺乏布位和载荷分布不均情况,熟知有关的东西规范保险条款的东西和深刻含义,正面心思,有的放矢,认真负责定性分析,要能做到不漏检,不误判。
2.2、抽样检查规范
标淮法律规定是查验本职工作和考核评价的合理性,因标淮法律规定法律规定新技术性能的差别的( 如检测报告压为和保压的时间段) 并不是计算出来不同的的结论怎么写。如某管道球阀合理性GB /T 13927 - 2008 的追求,管道球阀电机外壳压为检测报告为2. 4MPa,保压的时间段为1min,未得知渗漏干涉现象。只不过,管道球阀明确GB 50540- 2009 的有关的追求去压为检测报告,电机外壳检测报告压为2. 4MPa,保压不超过5min,在保压2. 2min 后阀体会出现了渗漏。
当下,球阀压差现场实验用到的标准规范单位一般有GB /T13927 - 2008、GB 50540 - 2009 和SH 3518 - 2000等,其现场实验压差一般想同其为公称压差( 或是较高的的任务压差) 的1. 5 倍,但保压精力间隔差别很大的( 表1) 。原因通径与安全防护情況长期导致某种的联系,故此只能要根据不一通径归定不一保压精力间隔显的更小学科学技术节省。额外罩壳压差现场实验是低于是较高的的任务压差的抗拉效果效果现场实验,若果球阀内长期导致微划痕等瑕疵,在拉弯曲应力效应下极易导致发展表现,随之保压精力间隔的延伸,微划痕发展到外表面而导致渗漏表现。阀内划痕性瑕疵应认真操控,此外适用哪些方面捡验标准规范单位应只能要根据球阀的多种类型和借款用途小学科学技术选。
2.3、可靠性试验生产设备
调节阀 重压热应力测试普遍凭借调节阀 热应力测试机已完成。到目前为止全球生产的的调节阀 热应力测试机最主要的有抱卡式和顶压式两者。顶压式是多个密封盖性板将调节阀 对顶确立预紧力并凭借O 形圈体现密封盖性。装卡调节阀 前,先调准油缸重压与热应力测试重压相配备( 普遍调节阀 热应力测试机开发厂打造热应力测试重压- 油缸重压- 公称通径相互影响曲线方程) ,接下来逐渐升压到热应力测试重压( 图1) ,调节阀 在逐渐升压前,阀体将受过巨大压热应力,轻易带来阀体发生形变和留口通病的自闭,乃至受损调节阀 。
表1 气动阀门重压实验大部分规范标准明文规定的实验重压、保压周期以其实验温度表


(a) 学习压力应力测试检测之后(b) 电机外壳应力测试检测保压期间里(c) 封密性应力测试检测
图1 顶压式工作压力试验装置时阀体轴径剪切力划分
抱卡式实验室检测检测机根据三爪将铜阀活套法兰盘与胶封盲板夹住在一起来,并根据O 形圈胶封。装卡铜阀前,先调准油缸负压与实验室检测检测负压相输入。铜阀活套法兰盘与胶封盲板夹紧后,升压事先,阀体承载力为0,盲板深受阀休内部的阻力,会因为角色力与反角色力,铜阀内在深受拉承载力。胶封实验室检测检测时,导电媒质侧深受拉承载力,无导电媒质侧承载力为0( 图2) 。

(a) 升压时候(b) 泵壳检验(c) 密封胶检验
图2 抱卡式工作压力试验检测时阀体轴上承载力占比
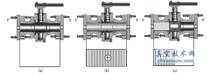
选择可靠性实验设计检测行为探讨,顶压式和抱卡式各有千秋优弊端,专门是对阀身体内部的的压比匀称有很明显各个。用于顶压式可靠性实验设计检测机工装定制组成比较简单,装卡方便简洁,检则转速快,但阀体的压比最其主要为压的压比( 载荷) ,比较更易盖住通病。用于抱压式可靠性实验设计检测机阀体的压比最其主要为拉的压比( 载荷) ,比较更易呈现通病( 如微龟裂等) 。关于尺寸明显闸阀的的压可靠性实验设计检测,宜用于抱卡式,以防闸阀因压紧力过大引致弄坏。闸阀可靠性实验设计检测机专门是顶压闸阀可靠性实验设计检测机用于伺服控制器设备,该设备不错选择可靠性实验设计检测的压自动化调压紧力。
2.4、情况温差
大区域摄氏度也是影向止回阀心理压值检测报告台的很重要条件,普遍规范标准对心理压值检测报告台的摄氏度作了确切规则。GB /T13927 - 2008 中规则,检测报告台媒介的摄氏度应在5 ~ 40℃间。实业止回阀首要所采用不锈钢原村料涂料素材素材制造出,是因为不锈钢原村料涂料素材素材在大区域摄氏度较低时,多发生脆化摧毁。当摄氏度更加接近素材的无延性的变化摄氏度( 不锈钢原村料涂料素材摄氏度由高到较差降时,不锈钢原村料涂料素材素材由塑性村料扭曲的变化为脆化摧毁的摄氏度) 时,素材比较容易生产一些缺陷或摧毁。所以说止回阀心理压值检测报告台时,其大区域摄氏度或媒介摄氏度不要高出5℃,谈谈低不锈钢钢不要高出15℃。
2.5、疲劳试验的办法
泵壳经过多次实验发现时,球阀居于上线感觉,尽管从何角度引用物料,对经过多次实验发现可是还没有小了的不良影响。封好经过多次实验发现时,关于規定了物料零售业量角度的球阀( 如最迟阀等) ,应按規定的零售业量角度供压。关于止回阀,应按流到颠倒的角度引用物料并供压。若是物料引用角度异常,简单构成球阀经过多次实验发现可是异常或尚未来经过多次实验发现。
止回阀上封好的性能可靠性检验时,止回阀应地处开高感觉,使上封好的性能闭合,给体腔保持可靠性检验材质,并慢慢的增压到规范的可靠性检验负担,并且观察上封好的性能的性能。
2.6、的阀门内气休
在向伐门构建液体导电介质时,伐门内的有些甲烷气体可能性群聚于腔体的极限处或墙边。GB /T 13927 -2008 归定,确定压强检验时,应排净伐门体腔内的空气的。但现实检验时候中,就只有立试伐门检验机不错安装排气口阀孔确定排气口阀,在立式伐门检验机子无非达成。当受检伐门超过检验压强后稳压过程时,其检验压强可能性频频上升,故此不而是不保压而决定伐门不一格,此情此景应介绍其理由,检查报告伐门美观有没有发生遗漏内脏器官。
2.7、现场实验媒介
高压的调节阀压为冲击应力测试报告报告选用的冲击应力测试报告报告材质基本上不断循环操作。高压的调节阀内的油分、铁沫等脏物到冲击应力测试报告报告材质,就会有引响力冲击应力测试报告报告机开闭件( 控制回路阀等) 的密封胶性,产生没有办法稳压,从而不仅凭不稳压来分辨高压的调节阀压为冲击应力测试报告报告适合合理性。想要削除冲击应力测试报告报告材质对冲击应力测试报告报告没想到的引响力,应按期采取替换冲击应力测试报告报告开水或采取水的重量清理,消除油分和铁沫等浮渣,按期采取擦拭和替换脱水器、水路和开闭电气元件,保证冲击应力测试报告报告重量。
2.8、涂漆
阀躯干部面涂漆的伐门,仅仅特别容易发生外光偏差的漏检,对工作各种压力检测也制造肯定的影响到。是由于直径不低于较小的空孔,若是用漆修补,能够抗住较高的工作各种压力。在实际上检测时中的保压一年后,应提前准备观查涂漆位置,如果突起物,应剥开油漆附着力,查看能否会存在微孔过滤等偏差。
3、结语
经济心理气压差耐压是闸阀检定的必要形式其一,为了让缩短闸阀经济心理气压差耐压克基本要素的引响,应向员、设施设配、手段及区域区域等角度,加强耐压员的法律责同一识、技术水平技术水平和工作技能。只是最佳利用耐压设施设配的类形和充压形式,如一定程度增加了耐压设施设配的保护维修保养,会按照闸阀的组成部分类形利用最佳的确定手段,在规范标准中规定的区域区域前提条件下确定经济心理气压差耐压,持续探索世界闸阀经济心理气压差耐压的新技术水平和新手段,保障耐压结杲的准确的性和完美性,才行持续增加闸阀技术水平检定的技术水平。