氧气管路专用阀门
2009-08-04 乐精华 兰州高压阀门有限公司
1、概述
在炼钢、打孔铝件及煤化工厂的煤气灶化时,应该很多采用高含量高工作压力的二氧化氮,因二氧化氮助燃易爆,故二氧化氮压缩空气管需求采用通用型止回阀。二氧化氮压缩空气管通用型止回阀的选择、结构设计、主食材和治理(脱脂、防电磁干扰、禁油等)有一个系例的保护和想要,担保使用二氧化氮压缩空气管的止回阀安全性高牢靠。2、阀门选型
二氧化碳内部管道专门伐门并不能所通过闸阀,是为了闸阀在面板开关流程中,闸板与的伐门法兰间的静摩擦力会导致火焰和静电能,是很的危险的。也并不能所通过对夹式双瓣止回阀,是为了该阀良好的密封性功效不安全。要根据伐门的差异用处,二氧化碳内部管道专门伐门以分成打断型和止回型。(1)切断型
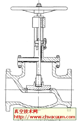
在公称阻力PN ≤40,公称规格尽寸图DN≤400,或公称阻力PN≤160,公称规格尽寸图DN≤250时,配用T形截至阀(图1) 。截至阀阀瓣与阀球间基本上无滚动摩擦,截至阀的阀瓣与阀球碰到后,的阀体即断开关了。阀瓣与阀球分离后,的阀体即启动。在公称阻力PN≤40,公称规格尽寸图DN≥400,或公称阻力PN≤160,公称规格尽寸图DN≥250时,宜配用“耐火型”聚四氟丁二烯( F)软封严不锈钢球阀(图2) 。一旦配用截至阀,则由截至阀公称规格尽寸图过大,阀杆承受力问题恶变,的阀体启动会费劲。 图1 T形结束阀(2)止回型
在公称长宽DN < 50时,选取用落地或水平面伸降式止回阀(图3 ) 。在事业中湿度≤200℃,公称长宽DN50~100时选取用聚四氟氯丁二烯( F)软良好的封严性性能带隔绝旋启式止回阀(图4) 。在氧事业中湿度> 200℃时选取用裸裸紫铜良好的封严性性能带隔绝垫的软良好的封严性性能带隔绝旋启式止回阀。用聚四氟氯丁二烯( F)或裸裸紫铜良好的封严性性能带隔绝垫的软良好的封严性性能带隔绝旋启式止回阀,在调结阀 在短时间内闭合的刹那间,不是可能五金阀瓣之间打压或击打五金高压闸阀,而有小火花,但是是应急型的。止回型调结阀 也可供选择用三反力斜盘式止回阀(专属了企业产品ZL 20062013593511) ,其阀瓣是装在阀轴上的蝶状斜盘,高压闸阀为专业的进行上下浮动塑性五金硬良好的封严性性能带隔绝结构特征,导致有保障高压闸阀能与阀瓣自行调结对位。 而高压闸阀密闭圈面是斜圆锥体形体体的一部门分,高压闸阀与阀瓣间进行的密闭圈线为相似性椭长方形形的等值线,该的等值线现在水平面图与阀体流道中间局线有倾斜角,的等值线的长轴中间局与锥体重心线进行轴力方向,即高压闸阀密闭圈面现在圆锥体形体体的重心线和阀体流道中间局线期间进行第三个轴力倾斜角。阀瓣翻转视频轴的重心线相比于圆锥体形体体的重心线进行轴力量,且相比于密闭圈线现在水平面图也地处轴力部位,进行轴力量。当媒介的压为高于其运转压为时,阀瓣已经打响,当媒介的压为减低后,阀瓣自己关停。因阀瓣与铝合金高压闸阀兼有三轴力电动蝶阀的特征参数,在关停时能在确定不凭借外力作用的情形下飞速地与高压闸阀改变无波动无碰撞测试密闭圈。该阀还兼有大流量的小流阻的特征参数。 图2 配有防静电胶皮能及有着“防火安全”基本功能的软密封垫三通球阀















针阀的气味流通业管道上设有有小的孔口,上下调整针状封口轴和孔口的距
单向阀设计英文符号是对单向阀简略的设计进行标注,普遍用在制图等行业领域。单向阀
提高工作效率了国外电滋感应阀的设定结构类型,二次设定了创新型俩位三通管大的流量电滋感应
本诗了解了氟胶圈角阀和全金屬角阀的的工作的一套运行原理以及架构图示图。
旁通液压多路阀控制泄压阀连接在主任道终止回阀出口值侧的旁通通风输送管道上,与
放气阀是向重力作用腔里面添加的气体,以破碎重力作用的球阀(图1)。针对于超
的gif动态均衡性调节阀的工做远离
的gif动态均衡性调节阀的组成远离图和工做远离是
磁感应感应阀是磁感应感应电磁铁通电后所产生ed2k引起缓解气弹簧的压强牵动阀芯舞蹈动作
的调节螺母能赔偿标准阀芯阀球良好的密封性面的磨坏, 阀芯一 定的过程度能赔偿标准