水环式真空泵简析
2009-10-23 张宏杰 山西漳泽电力股份有限公司河津发电厂
凝汽器的真空系统主要由真空泵及其管道系统等组成; 用以维持凝汽器系统真空。真空泵种类繁多, 目前普遍采用的是机械离心式真空泵和水环式真空泵。河津发电厂2×350MW 机组采用水环式真空泵, 并在真空泵吸入口前串联1 个射气抽气器。
1、抽真空系统主要设备及工作原理
1.1、抽气器原理
抽气器常见有射水抽气器和射汽抽气器二者。其操作的设计原理都可以重复, 只不过是发射工质不一来说, 那种是水, 而另那种是过热水汽。图1是抽气器的操作的设计原理图。从图1中都可以听到; 发射工质(水或汽) 由喷咀高速度快喷出来时, 在扩压管平台入口型成高速蒸空, 将周圍环境(从凝汽器赶走的) 吸气扩压管。在扩压管出口值水珠的速度快会逐渐减小, 学习压力不停的提升。最后一步将混合式的其他气体排进典雅中。其实就可将凝汽器内的环境和不疑固过热水汽吸出。抽气器原本构造相对较很简单、操作能信、加载不断, 并兼具不强的自吸的能力。
1.2、抽气器结构
图2是抽气器的架构图, 它与最前面所讲到的射水(汽) 抽气器有点各不相同, 非是靠射水也可以射汽来做为岗位的材质, 二是靠抽气器不一样口的差压带来引射功效来岗位。它重要用以化解水环式负压泵受高负压度下岗位的受到限制。
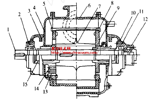
1.3、水环式真空泵的结构
水环式真空泵主要由泵轴、叶轮, 泵壳、端盖,隔板、泵轴和密封装置等组成。从图3 中可以看到:泵壳为圆筒双结构, 泵壳的夹层分别与两侧的隔板(5)和(8)的进排气口及密封水入口相通, 形成进气、排气、和密封水3个空间。借助端盖上的螺栓, 将隔板压紧在泵壳上, 并使它与叶轮(7)端面的间隙保持一定在0.2 mm~0.4mm。由于叶轮端面与隔板的轴向间隙很小,为了防止真空泵在工作时泵轴窜动而引起动静部分的磨损, 在泵轴的自由端设有一双向推力球面轴承。作为泵轴轴向定位的基准。而泵轴两侧分别由2个径向滚柱轴承支承。
1.4、密封水泵
密闭循环泵的技术参数为50X 40CSH-K立式离心式式泵臥式离心式式泵, 它当做水环式正空泵的密闭循环泵, 其架构行式与通常臥式离心式式泵并无什么区别。是因为水环式正空泵在做工作的, 犹豫水轮与水环频频相碰静摩擦, 使水环溫度频频增涨, 而可以损害到泵的吸进正空度。同时, 密闭水随实验室空气被送进气水提取清水箱, 一部电影分水会渐渐实验室空气排到。这就让在正空泵的启动的过程中, 肯定不断向泵内补入肯酶联免疫法的水, 以填补密闭水的耗用和展开保压的能力。在SONIT-F200B 水环式正空泵平衡装置中, 密闭水的供求平衡由密闭循环泵来提交。 不过, 渐渐凝汽器正空度让的加快, 分次应用水环式正空泵并不是时未符合凝汽器的正空让,那么要将抽气器和水环式正空泵切合起床。河津发电站厂350MW机柜也是运用水环式正空泵吸取到口前并联3个射气抽气器, 有利于机柜符合的较高的技术水平。1.5、真空泵工作原理

b) 适应性强, 当真空系统在运行中漏气量增大时, 真空仅会有较小的下降, 且抽气过程中, 若进水也不会产生危险;
c) 抑制简单的、运营方便快捷、全自动化设备层次高、健康安全靠谱; d) 能量消耗耗用小; e) 果汁工质损失率少; f) 声音个部分触及面小、点检服务器维护周期怎么算长、上班量小。






