直联旋片真空泵的使用方法和注意事项
2013-06-02 真空技术网 真空技术网整理
在上面的文章中,已经介绍了高速直联旋片真空泵的结构与工作原理,相信大家对直联泵已经有所了解,那么本文主要讲解下直联旋片真空泵的使用方法和注意事项。

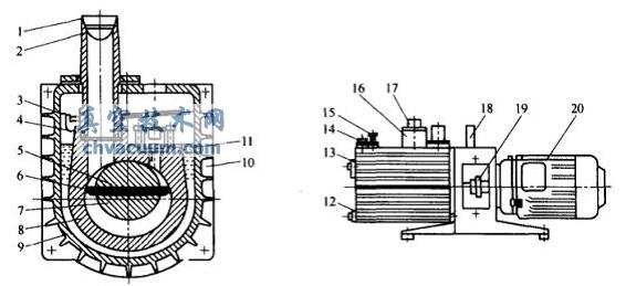
1-进气管 2-滤网 3-挡油板 4-进气管“O”形 5-旋片弹簧 6-旋片 7-转子 8-定子 9-油箱 10-真空泵油 11-排气阀门 12-放油螺塞 13-油标 14-加油螺塞 15-气镇阀 16-减雾器 17-排气管 18-手柄 19-联轴器 20-电机
图1 直联式负压泵结构的举手图 1、先拧图1添加油打气螺塞,图内型号为14,从加油打气孔添加油打气至油标2/3(因原厂运送社会关系,进口进口重力作用泵腔内无泵油灌入)。后从进气管孔内1加人一些泵油(应该因原厂时内容过长,给予泵腔内空气干燥)以滑润泵腔,规避启动后显示咬死、发烫不良现象。泵油适用壹号进口进口重力作用泵油。 2、按明文规定街上24v电源线(三相减速机减速机要注重减速机补偿器定位应与泵支墙上的方位箭头定位完全一致),拿掉泄压阀管17上的铅笔塞帽,航空件转下,再开端一般事情。3、与泵进气管口的连接管道不宜过长,千万注意检查真空泵外连接管道、接头及容器绝对不能漏气,要密封。否则影响极限真空度,及真空泵寿命。
4、泵的工作环境:温度5-40℃范围内,相对湿度不大于85%,进气口压力小于1.3×103Pa的条件下工作。对抽速在0.5L/s以上真空泵,均装有气镇阀。如相对湿度较高,可打开气镇阀净化,以净化泵油及延长泵油使用时间。净化完毕后及时关死。
5、要尽可能的尽量不用到泵间接接连长耗时抽包气,此泵抽气口接连敞通包气高速运转,不得当已经超过3min。




