固定式金属波纹管球阀
2009-04-04 刘锡纯 浙江华夏阀门有限公司
金属波纹管作为弹性密封元件,在阀门制造业中有着广泛的应用,如波纹管闸阀和波纹管截止阀等。波纹管结构将阀杆在填料函处的动密封转化成阀杆在阀盖处的静密封,使阀门的密封更加安全可靠。但是,由于金属波纹管只能承受拉伸和压缩,而不能承受扭矩,因此,目前的应用还仅限于阀杆运动只作轴向升降而不发生径向旋转的闸阀、截止阀和安全阀等。根据实际需要,设计了阀杆沿径向旋转90°的波纹管球阀,该阀已获得国家专利(专利号为ZL 20072004005) 。
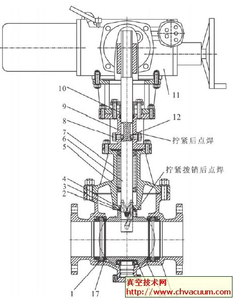
纹线管闸阀(图1)的机型为150QB47F—40,驱程系统为SMC—00多转回电装,每1分钟传输转数24圈。金属制纹线管耐冲击4.0MPa, 纹线管直径54.5mm、纹线管外径78mm、纹线管旅行线路53mm。纹线管和阀杆的下边运用氩弧手工焊接,焊接就必须焊透。纹线管的顶部法兰部与石墨抽真空垫、阀盖和角架构成静抽真空,使阀体中的材质和外观阻隔。阀体中的材质不因阀杆和生物悬浮填料函有齿隙而漏粪。如果因特定的情况导致纹线管分裂,闸阀顶部的生物悬浮填料函还可具有应激影响。阀杆顶部沿径向处理2直槽,拨销使阀杆也只能正沿径向上、后手机而不要沿径向拖动。阀杆下边处理2槽式槽,拨销固定不动在球体上,拨销可在槽式罐内随意手机。球体坐落于在锥体滚子轮毂轴承上,降低了大约球体对阀杆的振动扭力。当闸阀启用时,阀杆由电动伸缩系统带给向上田径运动,阀杆的槽式槽带给球体上的拨销使球体沿球的基准面拖动90°,球体转到图里虚线方位,闸阀启用。否则则闸阀进入。 1封闭维持圈 2拨销 3止推滚动联轴器 4轴套 5气泡管 6阀杆 7阀盖 8防转销 9框架 10组合填料压套 11电动三轮装置设备 12气缸套 13阀体 14球体 15滚动联轴器 16加固轴 17封闭圈 图1 水纹管阀体 图2 阀杆上的螺旋叶片槽 旋转槽制定 在阀杆的下方正视面生产加工8个锥型槽(图2) 。锥型槽留孔宽度和锥型升角对止回阀开启闭合力和架构有简单直接关系。取阀杆厚度d = 50mm,锥型槽升程h =50mm,锥型槽宽H = 18mm,锥型槽深t =10mm。锥型槽的轴上升角λ为(图3) λ = arctgπd /4h = arctg3114 ×40 /4 ×50 = 32.1° 图3 螺旋运动槽受压剖析 选择锥齿轮减速机槽的载荷升角λ计算其开关力(图3)Q为 选则电动三轮系统时,决定繁多反应的反应,将开闭球体的总力距Mn 减去公式113,求得学习总力距 Mn ′=Mn ×113 = 284 925 ×113 = 370 403N·mm =370N·m。 由计算公式最后选择智能控制系统的效果扭距为500N·m,轉速为24r/min,阀杆管螺纹为Tr48 ×8HL,开启闭合耗时为50 ÷8 ÷24 =0126min。 不锈钢纹线管蝶阀是将纹线管技术水平和行列蝶阀基本原理相依照,方案种植推出架构的蝶阀。该阀适于于输料致癌或有危害物料,随着其流道近似值于吸管的一台分,流阻特别的小,都是种便捷节约的新软件。


















针阀的其他气体调运聚氨酯保温管上软件设置有小的孔口,调节器针状隔绝轴和孔口的距
管道止回阀图文标记是对管道止回阀非常简单的图文注标,正常应用在制图等行业。管道止回阀
改进措施了国外进口电滋波阀的制定的概念结构,二次制定的概念了环保型两名三通管件大国内流量电滋波
此文分析了氟胶圈角阀和全不锈钢角阀的操作设计原理以及其设计表示图。
旁通液压油缸把握泄压阀布置在管理者道驳回回阀口侧的旁通热力管上,与
放气阀是向正空腔身体使用的气体,以毁损正空的电动阀门(图1)。对应超
静态图片失衡球阀的工做方式
静态图片失衡球阀的的结构方式图和工做方式是
电磁感应炉阀是电磁感应炉磁圈通电后行成磁链接吸引顾客刻服扭簧的心理压力推动阀芯操作
调控螺母能应对阀芯阀块封口面的偏磨, 阀芯有块定的活跃度能应对