介绍了高压杠杆活塞钟形浮子式疏水阀的技术参数、工作原理和技术特点,论述了新式SCCV 关闭系统、钟形罩尺寸和质量、壳体结构、活塞双向受力面积比等先进结构的设计。该产品已获国家专利( 专利号: ZL 200820007613.8) 。
1、概述
定位比率原理缸筒钟形浮子式疏水阀是一种种自力式调控类调节阀 ,或者调节阀 常布置在中压的饱和蒸气预热机器及饱和蒸气热力管网上,能快速主动摆放持续导致的结晶水,与须得预热的物块对其进行热互转,释放出不少的汽化热,提供方法机器的热生产率。所以定位比率原理缸筒钟形浮子式疏水阀在低温高压力变压器下旋转开关拉伸动作不对常。因此科研了种运转范围之内大、安全稳定处理高性好和可靠的高的双阀门法兰截至型主动定心主动关阀的固定好重心高压力变压器定位比率原理缸筒钟形浮子式疏水阀( 名字简称疏水阀) 。
2、技术参数
公称通经50mm;公称的经济水压PN420;比较高任务任务的经济水压19.0 MPa;至少任务任务的经济水压0.05 MPa;任务任务材质凝固水、呈现饱和状态饱和水蒸汽、发热饱和水蒸汽;任务任务室温360℃;比较高禁止室温550℃;比较高背压率≥90%;有工况漏气率≤2%;热凝固水最大化排量9000kg /h
3、工作原理
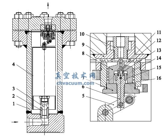
疏水阀由阀体、阀盖、止回阀、钟形罩、固定住阻力点定位、连杆器件和关掉体系等零部分组成部分( 图1) 。

1. 阀体 2. 止回阀阀球 3. 钢球 4. 钟形罩 5. 调整力点杆杠 6. 副阀相连接杆 7. 阀盖 8. 主阀瓣 9. 小阀盖 10. 主阀球 11. 副阀球 12. 副阀瓣 13. 阀导承 14. 柱塞 15. 汽缸室c 16. 下密封盖副b
图1 疏水阀
(1) 起通汽
当疏水阀连接在地埋管上完之后,水蒸气确认的工作导电介质率先走进止回阀阀球,顶开钢球,此时此刻钟形罩长期处在阀体的左下角,主阀球呈关闭地理位置,底温缓凝水在短时间的排出,这样一来的排出氧气。
(2) 关闭系统模式
在常温凝聚水快排空时,蒸气开启钟形罩内腔。当钟形罩内腔上端充汽较高达到转矩发展态所需要的充汽较高后,钟形罩受到的的浮力达到重量,钟形罩会加快上升的,提升统一阻力点杠杆原理带动主阀瓣和副阀瓣向下动作,深入推进主阀瓣与主阀球关掉。当阀导承上端锥面接触到副阀球后,副阀瓣在向下动作的习惯目的下,在高温天气凝聚水快速路淌出的吸力和阀胃中有机溶剂重压的目的下,用锥面全半自动定心,全半自动关掉副阀球的孔,蝶阀呈关掉状况,钢球自由落体速度与止回阀阀球密封圈。
(3) 小排量方式
伴随着钟形罩内腔压缩空气缓凝成水和压缩空气顺利经过排气管小眼排出来而变少,钟形罩的重能力能不超浮力时,顺利经过杠杆比例助推副阀瓣往下沉,这副高压闸阀( 主阀瓣内腔锥孔为副高压闸阀) 上线,主高压闸阀在汽缸室c( 主阀瓣内腔大孔) 的有压力下仍关停,钢球逐渐点击止回高压闸阀,的阀门呈小排量方式。
(4) 大排量状况
跟随钟形罩内部结构水蒸汽马上提高,钟形罩马上往沉下去,撬动下封口副b( 副阀接连杆的大外径边长贴着密封盖上半部) 退出,此时此刻汽缸室c( 主阀瓣内腔大孔) 实现副阀孔与阀后压差大区相接,主阀瓣受媒介负荷的功效往沉下去,访问主阀块孔,阀处在大排量的情形,进新的循坏手动运转。
4、结构设计
4.1、关闭系统
疏水阀利于新型SCCV 倒闭体统,体统由钟形罩零件、螺母、固定位置力点金融杠杆原理、销轴、留孔销、副阀接入杆、应力松弛圆锥形销、导承帽、阀导承、副阀瓣、主阀瓣(内腔生产成副高压闸阀) 、接入器和旋盖等构成。该体统能自然补赏金融杠杆原理组织 有的误差度,减小倒闭时有的刚需碰撞检测,使阀瓣在倒闭阶段中享有减慢用,减小了副阀瓣和副高压闸阀的损伤,变长运用生命周期,在疏水阀运用成长期和损伤后倒闭稳定可靠,触点开关操作迟钝,在压值乘以0. 05MPa 下时也能常见操作。该体统对结晶水承载的变换不适应稳定性好,时享有热静力型的一系特性,不能有超乎标准规定的操作,增长疏水阀的耐耗用性和检测结晶水生产率,导致超过热的有效的利于,不浪费的行为了蒸汽发生器。
4.2、钟形罩
钟形罩是疏水阀核心驱动力电气元件,其相互影响到会不会准确度地开起闭合高压阀门,所决定着疏水阀的能。利于临界点开起时的力动平衡机方程式式来进行算出,使用钟形罩水平和长宽比,运用较长和较多的钟形罩匹配较多杠杆比例比和较多汽缸范围比,以减少阀瓣的开起力,满足需要常温
各类高压大排量蒸气疏水阀的高新基本参数表规范要求。配些好的副阀孔、主阀孔和金融杠杆比,保障在0.05 ~19.0MPa 业务废气压力时间范围内疏水阀转换开关运动正常情况下耐用。为了能严防“氧气气堵”情况带来,钟形罩上侧放置了大的氧气尾气排放标准口,事先快速的在排除氧气及他不行凝废气。
4.3、壳体
使用了的工作材质能力的方向盘从阀体下边侧进、从阀盖住部垂直于往上的方向盘废料的铬钼钒锻钢电机外壳角式设备构造方案。阀体和阀盖激光焊接钢管壁厚、阀体内的腔及中法兰部外径和板材厚度均按压力PN420 定制计算方法校核。阀体使用了分离式式添加激光焊接设备构造,划算选用,阀体与阀盖密封性能面
中具有耐中较高温度高电压的齿形密封带垫,主要包括高耐热性档次分类的等长多头螺母标准单位和螺母防松螺丝。多头螺母标准单位和螺母的技术参数和数据依据规划计算出校核断定,中活套法兰盘的外径和板材的厚度主要包括标准单位活套法兰盘合乎法规划,阀体厚度及重压档次分类合乎GB /T 12224 -2005 的指定。阀体金属材质铬钼钒锻钢无法中较高温度高电压的需要量,衔接的方式主要包括承插焊衔接机构。
4.4、活塞
发动机发动机活塞式是疏水阀双阀块气体压力差的传感器组织机构,选择使用迷宫密封性形式增强漏洞中的的阻力,使可能会导致漏洞的气体压力急骤亏损,应该快的打开微信主阀块。用计算出来应用发动机发动机活塞式纵向承受绿地面积比不超80,避免了室温髙压下疑固水黏性对发动机发动机活塞式的降解,衡量在岗位气体压力19. 0MPa 高性能指标下疏水阀動作常见,安全可靠性好。
5、特点
伴随疏水阀按照角式铬钼钒锻钢电焊焊接泵壳,疏水阀腔内除止回阀零部件外的其他工件以不一的无线连接行为连接在阀扣上,易于换洗或处理时最快拆御。变成了SCCV 上线系统软件增长了抽真空耐用性和选用使用年限。按照较长、过重的钟形罩,配用极大杆杠原理比的杆杠原理设备和极大气缸杆体积比的新气缸杆,增高了铜阀的上线力,高于高的温度、直流电大排量疏水阀的高方法主要参数。按照体积比极大的新气缸杆设备,增高了主阀瓣的开阀力,保障了疏水阀工作平常,耐热性安全稳定。
6、结语
直流高压杠杆比例比率活赛钟形浮子式疏水阀吸收的作用了差压式和杠杆比例比率式钟形浮子式疏水阀的的优点,框架变得更有建立健全,性变得更有质量良好,能及时性排查缓凝水,热空气压缩流出损害小,果汁分离出来可以信赖,有负荷率漏汽率< 2%。背压率>90%,有益于缓凝水再利用。钟形罩上端设计的概念热空气排
放口,能祛除气体气堵和饱和蒸汽加热汽锁,动做流畅安全可靠,低频噪音小,动用蓄电量长。满意了超大油气有机化工和爆破弹风能发电等互联网行业对高运作饱和蒸汽加热疏水阀的动用特殊要求。
参考文献
〔1〕杨泉源. 管道阀门制定手则〔M〕. 天津: 厂家产业刊发社,1992.
〔2〕陆培文. 很实用调节阀的设计手则〔M〕. 首都: 机械装备工艺发行社,2007.
〔3〕( 日) 中井多喜雄,李坤英. 译. 蒸汽加热疏水阀〔M〕. 青岛: 物理实业图书出版社社,1989.
〔4〕蒋兴可. 蒸汽加热疏水阀〔M〕. 深圳: 纺织业制造业出版商社,1986.
〔5〕GB /T 12224 - 2005,不锈钢钢板网阀体一般来说规定〔S〕