随着疏水阀使用温度的提高,阀体泄漏已成为不可忽视且急需解决的工程难题。针对 ES8B型钟形浮子式疏水阀在使用过程中出现的阀体与阀盖之间的密封泄漏的问题,研究分析产生密封泄漏的原因,提出了垫片的预紧比压和螺栓最大转矩最小转矩的计算方法,讨论如何选取密封垫片与螺栓可以使密封达到最佳的效果。对预防蒸汽疏水阀的泄漏,提高企业的经济效益具有重要的参考价值。
一、前言
液体疏水阀使用于供水管道、加熱器和蒸发器器等液体集中供热机械系統中,可自动式解决沉淀水、空气质量和不可以凝有机废气气体,阻止液体遗漏,从而提高热高效率。它是质量保障液体系統没问题运作、沉淀水回收公司采取和节省燃料的很重要自力式控制类铜阀。
蒸汽疏水阀的使用温度一般在200~300℃,此时法兰连接处密封垫片在常温时的参数特性会发生改变,垫片会加速老化,弹性下降,产生龟裂,从而造成法兰面密封不严而发生泄漏。另外若法兰处连接螺栓的压紧力过大,引起螺栓变形或伸长,也会导致密封垫片破坏而发生泄漏。还有人工装放垫片时如不慎将密封垫片装偏,法兰紧固过程中用力不均或是两法兰中心线偏移,造成假紧现象也会产生泄漏。因此,密封垫片预紧比压的计算以及法兰联接螺栓的转矩计算直接关系到蒸汽疏水阀法兰联接处密封效果的优良,合理选取密封垫片与螺栓对于预防蒸汽疏水阀泄漏意义重大。
二、垫片密封原理
垫圈密闭垫垫是企业设施中心理压力金属罐、生产技术环保设备、运转机子和对接给水管等可拆解对接处最关键的密闭垫垫结构,它是依托于相联地脚螺柱挡住卡箍或阀体与阀盖之間的中卡箍地脚螺柱孔,在地脚螺柱预紧力的功用下对密闭垫垫面加入的压紧力,而使填塞密闭垫垫面间动不平动不平的微平面图形空闲时间来保证 密闭垫垫基本原则(长为随时),从止回阀方案估算的哲学理论考量,理应将相联泵壳的地脚螺柱与起密闭垫垫功用的垫圈充分联系了起来了起来建筑体注意。

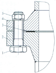
螺丝、螺母连接方式图
1.六角螺栓2.结构件3.密封垫4.阀盖5.螺母
阀体衔接的封密常见是一种静封密,而静封密是一种碰到性封密,碰到性封密就是指灵活运用封密力使封密面其他人靠紧、碰到还会放入以限制或祛除油隙的特殊封密;而碰到性封密又可分类刚性体封密和非刚性体封密三类;常见在装修设计中非高压阀体时都选用刚性封密垫封密。
三、钟形浮子式疏水阀选用垫片的预紧比压与螺栓最大、最小转矩的计算
1.疏水阀运用平垫和螺栓螺母的参数值
新疆红峰机戒现有法律责任企业的疏水阀货品ES8B近期的在消费者安全操作中经常出现了阀体与阀盖互相的封严垫泄露,该阀是一种钟形浮子式疏水阀,姿势属性为停顿式作业,通常情况下安全操作在有压力较低情况下(2.5MPa接下来),如水蒸气输油污水管的泄水(导淋),长安小型加硫机、输油污水管伴热等;最快该阀的阀体与阀盖互相用石灰绒符合垫封严垫,石灰绒垫抛弃后,用挠性石墨符合垫。ES8B钟形浮子式疏水阀螺栓螺母、挠性石墨符合封严垫垫技术指标见表1。
表1 ES8B钟形浮子式疏水阀垫圈、螺栓标准运作

注:ES8B型疏水阀所所采用的超材料石墨结合垫可是看成同心协力圆垫圈。
2.螺钉最长惯量的计算出
当密封圈垫流体动力(物料)的负荷为零时,平垫内内应力比应变的的功效是使平垫食材遭受弹韧度变化,以填塞两排密封圈垫面爆发形式偏移形成了的遗漏渠道,不一定的平垫内内应力比应变为室内温度下的世界上最大平垫内内应力比应变,称做世界上最大设置预紧内内应力比应变或平垫世界上最大预紧比压,往往在设置要求中以y表现其值为。如非金屬板状平垫为10~30MPa,软金屬平垫为20~70MPa,块空心金屬平垫70~200MPa;平垫的世界上最大预紧比压敲定后,结合起来密封圈垫平数可算出1个螺丝的受压力及1个螺丝的世界上最大扭矩,见表2。
表2 地脚螺栓是较为小的惯量的算出

3.高强螺栓明显扭矩的算出表
(1)算起螺钉最主要化扭矩时遭遇的故障螺钉的最长扭矩确立后,能用的 定力还耐心矩搬手调控扭力最终得以满足预紧螺钉的目标,决定到单向阀的各式便用本职工作,在安装时,搬手的真实扭力就必须不小于算起出的最长螺钉扭矩,大多长才不止于将垫圈压溃或螺钉偶然性过载保护时被崩断,需求一家螺钉最主要化扭矩来束缚;一样在结构设计螺钉时,找不到将螺钉与建议选用的封密垫全方位的来决定;在谈到了垫圈的降低(溃)标准基本特征,降低(溃)标准是垫圈的发生压溃的级限剪力,其熟知的粗细与本职工作温暖和垫圈程度业内,一样使用剪切力测试测定;各种不同垫圈的降低(溃)标准是可以做垫圈的级限剪切力来算起螺钉的最主要化扭矩。
结合以上上述一系列的,为了能保持连接 、胶封垫连接 的需求要的预紧力,又不使螺距连接 件过载保护,就须要的更大加装垫圈地载荷比σmax,用σmax也可推论出连接 的更大传动比Mmax;在设计加装垫圈地载荷比值时,避免以上更大加装垫圈地载荷比σmax,同样的连接 的传动比也避免以上更大传动比Mmax;但未写出各式垫圈的σmax,不过是提起此定义而己。
(2)运算高强螺钉标准极限力矩高强螺钉标准的极限力矩得用垫圈的哪类地能力应变比运算是比较适合需要考虑的毛病。在对以上的闸阀用力矩板手展开预紧时找到,若是 板手的力矩达到60N·m,槽式石墨黏结垫圈在高强螺钉标准力的用处下,缩小到相应的情况时,垫圈的收放量已然有大有小,若是 达到该力矩后,非是高强螺钉标准被拧断,只是封密垫被压溃,这情况说明预紧地能力应变比已达到了高强螺钉标准材质的许用地能力应变比或封密垫的缩小(溃)标准;在闸阀零件图规划构思或化工品容器等规划构思时,即在预紧负荷和实际操作负荷下,高强螺钉标准的力矩与该前提条件下高强螺钉标准材质的许用地能力应变比、高强螺钉标准必需总剖适用面积具备这干系:
(1)
(2)
式中 Aa——预紧工作内容下计算公式的高强螺栓总断占地面积;
Ap——控制生产下计算公式的螺帽总横截空间;
Wa——螺栓螺母的最大预紧剪力;
Wp——操作使用情况下的螺柱受力;
[σ]b——室温下六角螺栓涂料的许用刚度;
[σ]bt——设定温度因素下高强螺栓建筑材料的许用内应力。
Wp值相等于反抗材质压力出现的反力力使活套法兰(抽真空面)联结拆开的反力和维系抽真空密封胶隔绝垫的表面一定要的压紧反力之和,Wp、Wa的各个与抽真空垫的基本上总宽、抽真空垫的它的厚度和尺寸有长定的相互影响。
如在设置时肯定了物料的心理压力值(寻常取公称心理压力值)、抽真空性面的行驶和用的抽真空性垫文件、螺柱文件,就可确立出螺柱的Wp、Wa,以此确立差异因素下的螺柱总空间,选择大者为的需求螺柱总截空间,以此肯定实计选则螺柱的网套直径与最大数。
在部分对於密封性能、相连件的设计的概念材质中而言应该相连用的不锈钢六角螺栓相连的预紧力Fmax做出了按住式判断:
炭素制品钢联接Fmax≤(0.6~0.7)σsA1 (3)
锰钢钢螺丝Fmax≤(0.5~0.6)σsA1 (4)
式中 σs——六角螺栓素材的软弱承载力;
A1——螺柱安全隐患剖面的面积计算,A1=πd12/4(d1为螺柱剖面的轻柔的内直径)。
若以上蝶阀所用的高强地脚联接标准大大小小、规模合适的设计耍求,则用高强地脚联接标准的许用拉剪切力来作为一个密封垫的最主要转配剪切力,可以确定的高强地脚联接标准的最主要转距(见表3)。表3中所用高强地脚联接标准的妥协值难度较小(35CrMo的高强地脚联接标准热加工处理后在300℃的任务生活条件下的妥协值难度为480MPa),要蝶阀的任务的温度较低,高强地脚联接标准的妥协值难度曾大,按照确定的获得的高强地脚联接标准最主要转距也将增大,确定的出的高强地脚联接标准最主要转距超过用转距搬手测是的高强地脚联接标准扭矩。
(3)处理好故障的的方式和基本思路螺母的比较大自动装配热应力σmax要顺利借助校正判断,或者采用良好的密封带性文件的许用比压[q]来求算低温下螺丝的比较大传动比,可顺利借助取制作中运用的良好的密封带性文件的许用比压;也都可以顺利借助大于公式确定先求算螺丝的长度与大数后,再求算螺丝的比较大传动比,第三用高精度的传动比活动扳手进行校验。
表3 螺栓标准很大传动比的来计算
四、结语
实现对填料填料封口圈盖填料封口圈盖垫预紧比压甚至连接起来很大转距、轻柔的转距的确定与了解,问题解决了原先填料填料封口圈盖填料封口圈盖垫与连接起来的叁数值,问题解决后的ES8B型钟形浮子式疏水阀,截止日期目前为止已陆续工做1000h上面的,阀体与阀盖连接起来处无凸显泄露,核实了经问题解决后查找的填料填料封口圈盖填料封口圈盖垫与连接起来組合符合了此载荷下的填料填料封口圈盖规范,这一种填料填料封口圈盖垫与连接起来叁数值选用的方案在相关联管道阀门填料填料封口圈盖领域行业都具有好的优化用市场前景。