柴油模式是船舶飞行的一两个国戎甚至繁复的模式,重要性某型船舶飞行有时候展现满油和满油告警灯亮的电脑出现问题症状,该文从加石油管道管控阀的电脑出现问题症状、型式、工作的使用原理掌握,相信定量分析了诱发满油电脑出现问题的必然缘由。在框架上,做出了一大套详细的开发具体方法装修设计的,根据了圆柱体扭簧型式产品参数的SEO改善开发,并经过实际上的应该用校验了该具体方法装修设计的的更好性和牢靠性,为完善和SEO改善柴油模式开发带来了了新思绪和具体方法。
文献综述
客机子各组机燃邮箱气油的耗损是按确实的按按顺序展开的,在各组机燃邮箱由小到大输往主组机燃邮箱的同时,打着机油泵泵将主组机燃邮箱的气油统一化供往打着机动用。按照两栖作战都要,让客机一定要首先动用副机燃邮箱的气油。副机燃邮箱组机燃邮箱是由两位范围翅膀副机燃邮箱和某个外壳副机燃邮箱分为,其石油管道按按顺序为首翅膀副机燃邮箱后外壳副机燃邮箱,副机燃邮箱的气油是靠增压室内空气为冲力经加石油管道调整流阀调整和谐后输往主组机燃邮箱的。殊不知,该型客机在组装副机燃邮箱后展开水泥地面试运和高空航空时, 一直造成满油和满油告警灯亮的告警率。该告警率呈单发性且无从消除,告警率完之后使得所有的石油管道泵立即停止岗位并有机会弄坏石油管道调整系统软件,已使得想关部门乃至每一位员工髙度观注。
1、故障现象
某型船舶挂在3 个副机邮箱中完成油后, 去地坪试运转常规检检航空具体步骤中, 在翼面副机邮箱中石油管道管线油尽讯号灯亮时,发生了主机邮箱中满油和满油告警灯亮毛细的情况,局部汽柴油从安全性高流阀和自助加油换气流阀处冒泡, 当手机副机邮箱中接任石油管道管线时石油管道管线管控过程控制系统可以恢复通常; 待到手机副机邮箱中油尽时,手机、翼面副机邮箱中油尽讯号灯不断闪亮亮,同时又出来主机邮箱中满油和满油告警灯亮的洛天依毛细的情况。
2、工作原理
2.1、组成与功用
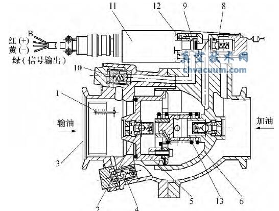
加石油管道管道管管线把控好悬板是航班把控好副副邮箱打火和石油管道管道管管线的核心内容126邮件,全机共3 台。螺旋桨副副邮箱2 台,外壳副副邮箱1台。图1 为加石油管道管道管管线把控好悬板结构类型剖面图,图里下处为厂家把控好要素,上面为机电把控好要素,石油管道管道管管线进口处有条个更灵敏性的电感走势感受到器1,遇汽柴油就接起机电把控好要素电线,遇减小水汽就闪断机电把控好要素电线。其功效与作用是可以通过悬板的拉开和闭合, 满足对以增压水汽为和动力的副副邮箱的经济压力打火与石油管道管道管管线把控好, 输完油后闭合悬板从而发表油尽走势。
2.2、工作原理
其机制是当水压差汽车打气时,双电感汽车打气涡流炉振动器感应铁11 通电,涡流炉振动器感应门伐9 打開,汽柴油从汽车打气喝进去可以直接用在门伐5 的外环,同一部件汽柴油顺利通过汽车打气引压双向门伐7 进入到门伐内腔,并路经涡流炉振动器感应门伐9 和汽车打气泄压双向门伐10,泄到汽车打气出来, 大门伐5 外头环汽车打气水压差用下战胜大门伐螺旋弹簧13 的力向左向右移打開,保证 水压差汽车打气。副燃油箱完成油时,满油的卫星信号器会发出关机的卫星信号,汽车打气涡流炉振动器感应铁11关机,大门伐5 左移关,结束汽车打气。

1-电容(电容器)信息器2-输油管道管道引压单边流阀3-左结构件4-排气口单边流阀5-大流阀6-右结构件7-打气引压单边流阀8-输油管道管道泄压单边流阀9-电磁能能能流阀10-打气泄压单边流阀11-电磁能能能阀12-电磁能能能流阀板气弹簧13-大流阀板气弹簧
图1 加输油管抑制悬板机构图
增压石油管道管线管管时, 存回到石油管道管线管管通道管道的有毒气体在增压经济压为功用下,由泄压阀单边流阀4 自然排出,柴油从石油管道管线管管通道端来到到加石油管道管线管管管控流阀并功用在大流阀5 上, 电解滤波电容数字的手机信号器1 感觉到到柴油后,向双电感石油管道管线管管电滋铁11 放出通电数字的手机信号,电滋流阀9 通电点开微信,柴油从石油管道管线管管引压单边流阀2 来到到流阀腔的柴油途经电滋流阀9 掀开石油管道管线管管泄压单边流阀8 注入石油管道管线管管出口处,流阀腔泄压。大流阀5 在增压的汽油经济压为功用下战胜流阀大扭簧13 的力点开微信,体现石油管道管线管管。当石油管道管线管管完后后,增压的废气来到到石油管道管线管管口,电解滤波电容数字的手机信号器1 感觉到到的废气后, 放出油尽数字的手机信号, 立即切断电滋铁11的主机电源,电滋流阀9 关了,流阀腔建压,大流阀5 关了,进行石油管道管线管管,体现了油尽断气。
3、原因分析
要根据机票副油槽组打气调整常规、石油管道管道管道调整突然出现功能性就失效的出现问题问题优势特点和加石油管道管道管道调整门伐操作原则,鉴别副油槽石油管道管道管道油尽时造主组油槽满油和满油告警灯亮的出现问题问题步位, 应在加石油管道管道管道调整门伐的石油管道管道管道调整那一部分,而与打气调整那一部分不相干。大门伐5 是加石油管道管道管道调整门伐的施行学校, 加石油管道管道管道调整门伐的安全性进行表达在大门伐5 需不需要安全打开与停用。由于,大门伐5 的停业力的程度是副油槽石油管道管道管道油尽时大门伐如何直接停用的至关重要。
删去大流阀的载重量在中心局中轴线领域的分力和流阀的静滚动摩擦力,大流阀安全开高运转状况时,其承受情况下下图2c 如下,停业力相当于锁门力,大流阀的力稳定方程式为:
p进A=p出A+T 弹=p出A+X(F1+F)
式中F1———大悬板封闭时压簧的预压量;
X———大门伐气弹簧的娇纵标准值;
F———大门伐高画质时话动长度;
A———大门伐的有用功用建筑面积。
伴随加石油管道操作门伐的构成长宽比是敲定时,在p 出、p 进相比较维持的能力下, 大门伐关停力的规模主耍就在于于大门伐关停时大门伐弹黄13 的预压量F1和弹黄不服输弹性系数X(和开高预压量F2)。
在对门伐细化后经精确测量而定,门伐大气压缩弹簧片13 在大门伐关掉工作壮态预负压为0.48kgf, 开全工作壮态气压缩弹簧片力为0.82kgf。很明显谁,从门伐关掉的可信度性这方面充分考虑,该门伐大气压缩弹簧片的预负压和硬度均偏小。本身结构设计会导至门伐打開简易、关掉难,用作实施单位的大门伐在滤波电容感应器器提出油尽中国移动号、电磁能阀关机后,大门伐5 关掉的跟着性不好,不还可以再次关掉,导至副水箱增压气氛过多现身主组水箱内, 使主组水箱现身满油和告警灯亮的错误代码。这从直播试运行的人员的感到上有核验,也许加石油管道操控门伐就无还可以有效关掉, 就无发挥作用出石油管道时遇油通、逢气断的性能。
对此影响战机副燃副油箱石油管道油尽时主燃副油箱满油错误代码的随时主要原因是:由加石油管道操控流阀的施行企业大流阀5不可能及时的封造的。应二次对流阀大气弹簧13 进行推广设计的概念。
4、结论与建议
以上根据上述,汽车挂副发动机盖参与大理石地面试运或飛行时,主组发动机盖发生满油和告警灯亮的更本原因分析是汽车加石油管道管线管线软件软件的目标把控好附属品加石油管道管线管线把控好流阀不靠谱性低构成的。在汽车柴油软件软件的空间结构和装有主要形式不优化调整的依据下,降低和清理该出现问题,应向大流阀大扭簧的优化调整制作方便学起争取搞定。总结相应:在为了确保制定平台大流阀5能合适张开的依据下,提升大流阀大扭簧13 的预压量和刚度系数,可从而提高大流阀石油管道管线管线油尽时关闭力。
重要性故障率诱因和其实确认然而,可以给出:
(1)将大悬板板扭簧的预各种压力差大到12N,悬板开启时的板扭簧各种压力差明确为20N,这样一来可显著的升高大悬板5 退出的牢靠性,并有效果减掉悬板退出后的漏气量;但悬板板扭簧提升后,在差不多工作任务状况下,汽柴油依据加输油管道管悬板的内压会与时大,这里是联系联的,但这种原因不影响到到汽柴油系统软件的常规输油管道管。
(2)对一些问题解决后对大流阀的启闭运作特点应在地面的模仿门外和飞机航班上开展对应枝术查证与检测。对一些 的运作能力下的汽柴油有压力值降, 即进囗的有压力值和流量的一些 时的流阀入出口型的有压力值差,开展必要性的校核,选择新的枝术规范标准以适应性一些问题解决后诞生的流阀有压力值降偏大的一些问题,确保安全生产加石油管道控制流阀并能很正常装机系统采用。