控制阀是各类工艺系统上常用的阀种,本文介绍了一种适用于高压,腐蚀性介质的控制阀,论述了其结构特点及阀 门口径的设计计算。
1、高压控制阀的主要技术参数
公称学习压力:2500lb
阀体装修材料:F51
特殊Cv值:120
流出游戏等级:V级(GB/T4213-2008)
人流量性状:等费率
用方式:气开
去向:底进侧出
连接方式:法兰(ANSIB16.5)法兰规格:6"2500lb
2、高压控制阀的工作原理与总体结构

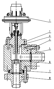
1-气动弹簧装制 2-阀盖 3-合金材料绕绳式密封垫 4-阀体 5、8-供水管道法兰片 6-阀球悬浮填料 7-阀球
该管道阀体为气闭式的调控阀,出气管道阀体访问,失气时根据弹黄启用。根据汽动塑料薄膜实施组织机构提升阀芯前后走动,修改截流面积确定,而使到达人用户调控的的功效。阀芯型面是经确定的连续性斜面,由车床数控精加工而成,可充分考虑等百分比计算人用户性能指标。
阀体、阀盖、活套活套卡箍均采取锻件。阀体和活套活套卡箍、阀体和阀盖差别完成螺柱、螺母连结加固。阀体和阀盖采取材料打结式螺母抽真空;阀体与阀块采取阀块活性炭过滤器抽真空,由活套活套卡箍压加固定好;活套活套卡箍与阀体采取透镜垫抽真空。
3、高压控制阀的口径计算
访问量常数Cv,是把握阀的关键主要产品参数,它反映了把握阀在气流的水平。利用工艺技术主要产品参数统计访问量常数Cv,选高压闸阀的公称直径。步凑方式:
3.1.肯定阀体管径确定想要的性能参数和比率
3.2.来计算管线多少图案指数公式Fp

式中:
∑K-相连接到调节阀 上的整个承插管件的速头盘亏度常数的代数和
N2-数码常数
d-假设检验的电动阀门公称通经
Cv-猜测公称直径的高压调节阀 在100%形成时的高压调节阀 公称直径计算弹性系数
∑K=K1+K2+KB1-KB2
K1-中下游承插管件的阻尼指数
K2-在下游管道管件的阻尼常数
KB1-進口端伯努利标准值
KB2-出来端伯努利数值
伯努利常数KB1和KB2仅在调节阀进口量处的管网的直劲与调节阀销往处的管网的直劲其他时运行。
3.3.确认非常大可以学习压力降△Pmax,运算结论与现实的的工作状况压力△P完成非常,若△Pmax<△P,则该工作状况中会引起梗塞流,大概用运算出的△Pmax替代特定的高压阀门口经运算公式换算中的现实的的工作状况压力△P(△P=P1-P2)。
3.4.估算Cv值

式中:
Cv-球阀水流量常数
q-带链接体积大小人流量
N-函数常数,用面积行业算作热度来做好高压阀门口径规格的计算方式时用N1
Fp-供水管道几何的形状图片大全性能参数
P1-中上游可以说 影响
P2-上下游完全压力
Gf-液状体比率
只能根据估算出的Cv值与假定调节阀 的功率Cv值较为,追求估算出的Cv值不会不超假定调节阀 的功率Cv值。
经计算出确实该的控制阀阀块的规格为3",也能必须工程环境的条件。而且选取较小气动设备即能必须隔绝必须。
4、高压控制阀的结构特点
4.1、用手动聚酰亚胺膜进行工作命令节构,有着节构简单易行、動作信得过、检修更方便等特点,不是种采用宽泛的进行工作命令节构。手动聚酰亚胺膜进行工作命令节构来设计成双聚酰亚胺膜节构,增太大了聚酰亚胺膜的有效地体积, 保障了产生给阀杆的目的力Fg,完成业主标准的交叉剪断。
Fg=p×Ag
式中:
P-有机溶剂的压力
Ag-聚酯薄膜的可行建筑面积

式中:
D-开敞处园周的外径
d-胶片圆顶的内直径
4.2、阀体直接的与通道法兰片片盘借助螺母联系,在定制上节俭了了联系法兰片片盘,节俭了素材,节俭料工费。阀球借助顶端加入,组装时用螺母吊住,结果是借助通道无缝对接法兰片片盘压紧。

4.3、该管道阀门动用在磷酸二氢钾液体的加工期间中,媒介兼具耐防侵蚀影响,辅料CO2、NH3、甲铵和磷酸二氢钾液体的水液体,辅料带进去的塑炼物、氯化物及加工期间中进行的碳酸铵液体、稀氨水和一少方面氰酸等都兼具耐防侵蚀影响,由螺母接触的螺距啮合方面简易发生开缝耐防侵蚀,以内件设置制作应当不应制止降低螺母连到。全部该阀的阀芯设置制作排成体式节构,制止了螺母某些柱销接触调整,这般就制止了开缝耐防侵蚀。悬浮填料的布置不应制止的靠到底,降低开缝的时长。
4.4

1-阀块悬浮填料 2-阀块 3-阀体 4-透镜垫 5-通道法兰部 6-自攻螺丝 7-螺柱 8-螺母
绝对阀块与阀体接有够的密封性能性必须绝对阀块生物骨料有广度的解挤压量,为保障阀块生物骨料的解挤压量,在阀块和阀体区域结构装修设计次数制了生物骨料的解挤压量,借助换算给定生物骨料的区域,压紧阀块与阀体,使阀块生物骨料压紧实现好的解挤压量。
5、结语
该铜阀不适适用高电压、高防灼伤粘液,材料有较高的耐防灼伤,空间结构比较稳定,会无法载荷要。