以当前煤矿井下广泛应用的隔爆型低压真空馈电开关流行配置的一种电磁操动机构低压交流真空断路器为例,对ZK2-500 /1.14-9 型真空断路器的结构、组成、工作原理进行了全面系统阐述。结合常见故障进行分析处理,并研发了专用维修工具,为准确判断故障类型,迅速排除故障现象,及时恢复井下安全供电提供了技术保障。
前言
到现阶段媒矿掘进低直流电压低输电丰富选用带着总合庇护设备的隔爆型自动化低直流电压低馈电启闭,配齐低直流电压低蒸空环境负荷转换启闭作是以控制回路关合构件。负荷转换启闭所配操驱动力构有压簧贮能操驱动力构、电滋操驱动力构、磁悬浮轴承操驱动力构四种,各举电滋操驱动力构拥有架构简单的、为了便于运行、专用性强的缺点有哪些,被选为近些年里蒸空环境负荷转换启闭受欢迎配资。兖州矿业工司( 实业工司) 工司南屯媒矿阶段非常多的选用的南国工司KBZ-500 /1140 型低直流电压低隔爆馈电启闭均配齐ZK2-500 /1.14-9 型电滋操驱动力构蒸空环境负荷转换启闭,该负荷转换启闭体积大小小,承重轻,灭弧、隔热特性好,架构紧奏型,运行便于,在直流电压1 140 V 之下启闭中应用软件丰富。但这样的负荷转换启闭来源于重重合闸电压大、构件布置教室不统一理、返修不便于等缺点,造成制度着巷道安全管理输电和通常制作。途经蒸空环境技术水平网(//crazyaunt.cn/)对负荷转换启闭的作业原则开展了探析,讲解其常見机械内部发动机故障和分辨进行处理技巧,为学好负荷转换启闭分重重合闸具体步骤,为准分辨机械内部发动机故障特点,十分迅速确诊机械内部发动机故障将能起积极向上的使用。
1、短路器工作的作用
1.1、基本型式
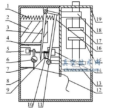
ZK2-500 /1.14-9 型血压低压高洽谈蒸空短路器机构下图1 图示,它由架构、蒸空旋钮管15、重合闸电阻2、分励电阻5、欠压保持电阻14、合分道闸构等分为。里面架构由隔绝电阻架构10、五金架构8 两个部分组名合而成,蒸空旋钮管静触头17 经过探针夹18 调整在隔绝电阻架构中,其它的主件协调安装使用于五金架构中。

1 - 分闸压缩弹簧; 2 - 分闸感应次级初级线圈; 3 - 保持着集成吊顶吊顶扣板; 4 - 集成吊顶吊顶扣板拉簧;5 - 分励感应次级初级线圈; 6 - 半轴; 7 - 半轴拉簧; 8 - 不锈钢框架; 9 - 帮助销钉;10 - 欠压挥发压簧; 11 - 分闸齿轮; 12 - 手分闸线; 13 - 重力作用管动触头;14 - 欠压挥发感应次级初级线圈; 15 - 重力作用旋转开关管; 16 - 分闸板; 17 - 重力作用管静触头;18 - 电极片夹; 19 - 耐压框架
图1 塑壳断路器平台分闸位址关心图
1.2、 高压电器回路开关
空气触点开关机电调控二次回路开关由图2 可看见,其主要按照联系插孔线与触点开关调控设计组成5个调控二次回路开关,第一是欠压脱离感应电机转子Q 经7、14 号插孔线换取交流电电压48 V 任务24v电源开关开关适配器; 2是分励感应电机转子F 经8、13 号插孔线换取交流电电压48 V 任务24v电源开关开关适配器; 其三是重重送电调控二次回路开关经9( 12) 、10( 20) 号插孔线换取交流电127 V 任务24v电源开关开关适配器,按照整流后为重重送电感应电机转子H 作为交流电电压任务24v电源开关开关适配器。重重送电感应电机转子为双感应电机转子双涡流铁构造,重重送电同时空气触点开关辅佐接头QF 处在倒圆角的情形,短接掉2、4 号感应电机转子,使其只按照1、3 号感应电机转子大交流电强磁性吸合,空气触点开关吸合后辅佐接头切断,十个感应电机转子全通电,确保小交流电弱磁性保证质量,既保证质量空气触点开关安全吸合,又有郊变长重重送电感应电机转子选择时间。

图2 隔离开关电气成套设计原理图
1.3、重合闸筹备
图1 为负荷开关分闸位址示意向图,此情此景送电电阻线、分励电阻线均未得电,欠压移除电阻线得电,送电板16在分闸弹黄1的使用下被推在右方,其拐臂摆脱真空环境室管自身的冲力的使用,将真空环境室管动触头13 吐出2 mm控制,使其发生分断位址,同一时间固定的在送电板上的配套母线9,摆脱了欠压移除电阻线压簧10 的反使用力,将欠压移除电阻线压在吸合位址,关心欠压移除电阻线始终维持吸合。
1.4、重合闸操作过程
该型断路器为电磁合闸,机械保持。由图3 所示,当开关控制系统发出合闸指令后,合闸线圈得电,其电磁铁产生强大磁力,吸引铁磁性的合闸板克服分闸弹簧的反作用力迅速沿合闸转轴11 逆时针转动,其拐臂推动真空管动触头上移,与静触头紧密接触,使真空管处于合闸位置,同时合闸板的上部左移,压缩分闸弹簧并不再制约保持扣板3 的拐臂,保持扣板在扣板拉簧4 的作用下下部左摆,越过半轴6 的缺口。合闸动作到位后,合闸线圈失电,机构在分闸弹簧的反作用下有回复原有分闸状态的趋势,但此时半轴在半轴拉簧7 的作用下有一定角度的顺时针转动,其缺口棱角恰好挡住保持扣板,这样既保持了扣板的拐臂,又挡住了合闸板,整套机构保持在合闸状态,合闸过程结束。

图3 空气开关系统分闸地址展示图
另外,根据重合闸板的转牵动手游辅助销钉转,失掉了对欠压宣泄出电机转子的磨血,为欠压宣泄出进行需备。
1.5、分闸环节
该型真空断路器分闸有分励脱罚分闸、欠压脱罚分闸、一键脱罚分闸四种措施。
1.5.1、分励脱车扣分闸
当面板开关掌控设计会发出分励脱扣指命后,负荷开关分励次级磁圈得电,其电磁能铁吸合,推动半轴逆时针甩动一定的视角,半轴的收窄消失对长期长期保持吊顶集成吊顶扣板的阻挠,长期长期保持吊顶集成吊顶扣板的拐臂逐渐消失对分闸板的阻挠,分闸板在分闸压簧的的功效下快速发展沿分闸齿轮回转回转,其拐臂推动负压管动触头下跌,快速发展打破静触头,使负压管由闭锁转化成分断动态。时,分闸板的甩动推动了助手销钉甩动,立即对欠压发出次级磁圈制造反打,为欠压发出次级磁圈安全吸合做到做准备。
1.5.2、欠压脱驾驶证扣分闸
当电源开关失电或操纵设备发表欠压脱扣汇编指令后,短路器欠压产生感应线圈失电,其电滋铁在欠压产生压簧的角色下弹窗,顶向半轴显著部件,使半轴逆时针翻转,骤然构成正空管分断,险遭行动同分励脱违章扣分闸。
1.5.3、半自动脱驾照扣分闸
若打开掌握、保护好操作系统發生问题,或分励、欠压脱扣均丧失,往往会需用应急处置自動分闸,该短路器自動脱失分闸应用了闸线手散装置。当需用自動分闸时,拉动手实操分闸线12,打造半轴逆时针翻转,就能像分励、欠压脱扣一样的保证分闸。
2、常見错误码及操作
2.1、拒分闸出现故障
空气开关拒重合闸有高压电器告警和公司告警二个等方面。
2.1.1、电气开关机械故障
由图2 确知,空气开关拒分闸的的原因是:
1) 欠压脱离电磁铁不吸: 此电磁铁阻值用万用表电阻功率档在线测量应该为400 Ω 左右两,阻值过愈多为电磁铁断路,阻值过小则为匝间出现短路( 会引致击穿器自燃) 。若在此重合闸心声正常的,但高压结构确保管不住,则完毕分断。处置的办法为拆换欠压脱离电磁铁。
2) 重合闸电感线圈出现故障:
(1) 整流器断路或击穿时,重合闸无响声,可以用万用表测定分辨,处里技巧为调整整流器。
(2) 电磁电感串电或串电时,重合闸亦无声音,可能性构成击穿器虚接,卸开2组电磁电感后用万用表比较測量阻值才可以来判断。除理技术为换新毁坏的五组电磁电感。
(3) 空气开关輔助触点洛天依,首要是闭拢时接触到无良,重送电初级线圈吸合无劲,达还不到重送电地方。治疗手段是打磨、抛光、改变触点或换个輔助触点。
2.1.2、公司出现问题的
1) 送电电机转子电滋能铁与送电板之間加入残留物,专门是维护保养操作过程中会导致平垫、弹黄垫等小形铁质物件洒落于送电电机转子左右,送电一瞬被电滋能铁吸引顾客,挡在电滋能铁与送电板之間,会导致送电板启用不完成,组织挂不了。办理最简单的方法是清理掉残留物。
2) 手游辅助性软件弯排机9 因磨花、脆化形变报废,让分闸模式下抵抗不紧欠压发出感应磁圈的磁感应波铁,或分闸时欠压发出感应磁圈吸合不紧,其磁感应波铁只挡住半轴,有拼接时未在半轴上控制。净化处理做法是调低手游辅助性软件弯排机的方向或更換手游辅助性软件弯排机。
3) 手分的操作分闸后手分闸线未复位键,拦住半轴,有再者重合闸时铝扣板是没办法在半轴上保持着。操作策略是对闸线完成给油防锈液,并人工机械选择性回推,使闸线回位。
2.2、拒分闸错误代码
2.2.1、电器设备电脑故障
首要是分励磁圈不吸。快速可用万用表校正电容值,档位应给100 Ω 上下。若阻值过越大却为磁圈断路,若阻值过小,则为匝间跳闸( 会有融断器损坏) 。加工方法步骤为根换分励磁圈。
2.2.2、设备错误代码
1) 分励脱扣不空开跳闸: 分励初级电机转子虽已吸合,但基于其涡流振动器铁与半轴协助孔径大,未对半轴开始有效果拉高,引发平台不的动作。这类机械内部故障的状态下分励初级电机转子会生长期带电体,易于引发分励初级电机转子虚接的次生机械内部故障。净化处理的方法是校准涡流振动器铁与半轴协助孔径。
2) 欠压脱扣不跳电: 一种是欠压解放电感失电后,因为它的磁感应铁与半轴做好摩擦大,磁感应铁显示网页后未对半轴确定高效顶动,致使企业不舞蹈动作。整理方案是调节磁感应铁与半轴做好摩擦; 其八是调换或调节帮助母线后,帮助母线压得太死,分闸壮态下还没有进入对欠压解放电感磁感应铁的模压,导至欠压解放电感失电后,其磁感应铁没有显示网页,企业不可能脱扣。整理方案是调节帮助母线,使其既在分闸壮态高效模压,又在分闸壮态实现目标进入。
3) 手分脱扣不断电: 拉通过触感分闸线隔离开关未脱扣,大部分是闸线上锈拉拉拉不动,或闸线与半轴互相密切配合不密切协作,拉拉拉不动半轴。工作最简单的方法是对闸线采取加油工作保养工作,或調整闸线与半轴的互相密切配合,使其才能可行扩大半轴。
3、专用专用工具专用工具设计的概念应用领域
该型漏电高压断路器只能自动措施,而没得自动改手动重合闸措施,根据操心理构在表面,引发故障率后要改换电感或修改医院,都要将漏电高压断路器从开关按钮中拆出,改换或修改后再完全恢复,再通电现场实验,工作流程极其不便。凭借反反复复现场实验,研制开发了了件專用维修培训用具软件,该用具软件框架见图4。

1 - 手杆; 2 - 支撑; 3 - 活销; 4 - 卡扣
图4 使用设备节构构造图
常用维护道具注意由手杆、活销、挂扣五部排序成,手杆和挂扣凭借活销接入,形成了自由权匀速转动或者单导向转动加上。安全使用时将挂扣插进送电板上面,钩住送电板,手杆的力点刚好能作为支撑点在隔离启闭五金框架上。从图5 听出,当手杆沿下上下箭头方由上向下压时,会出现以力点为平台的逆时针匀速转动或者单导向转动,牵动挂扣沿上上下箭头导向移动端,导致将送电板由分闸地方拉至送电地方。根据一种常用道具,不错在启闭拆开后,不需要在最后加电阶段提交订单独做隔离启闭的带有大量手动合分闸实验,避开了繁锁的不间断拆开、调整、自动装配、实验等,相对有利实惠。

图5 常用用具运行示图图
4、结语
凭借相对短路器设备构造组成了、工做原因、分类设备报警及解决做法等的描述,对选煤厂修补工学好修补专业、延长项目品质、精确性辨别设备报警种类、速找回正常可靠供水将发挥需的增进用途。特别是特用专用工具的研制成功的,为精确性辨别设备报警种类,快祛除设备报警问题,快速找回正常掘进可靠供水可以提供了基本保障。
关联性论文:
[1] 王公华,梁卫东. 矿井电钳工[M]. 安徽: 中国人矿业投资大学考研杂志社杂志社, 2007.
[2] 李俊双. 汽车电器区对方[M]. 苏州: 焦炭工农业出版权社,2003.
[3] 徐之,张世根. 选煤厂输电还有机器设备[M]. 东莞: 煤炭使用量实业出版业社, 1993.