不锈钢波纹管真空截止阀的结构与工作原理
2020-04-26 真空技术网整理 阀门手册
一、外压式不锈钢波纹管真空截止阀
外压式指是波浪管路腔压差达不到外腔压差的的电动阀门组成部分形式。例如的电动阀门要根据波浪管应用程序的零件情況可氛围两种类型。1、波纹管组件不可拆卸的真空截止阀。波纹管上端与阀针相接,下端与阀体相接。由于真空度低,工作温度也不高,通常可采用滚焊方式连接。阀门的启闭是借助阀盖与阀针的螺纹螺距差来完成的。
想要避免波浪管偏斜,在阀针与阀盖间存有防扭螺栓,种形式的的特点是因为节省了阀体与阀盖间的两道密封圈,形式简单,代价便宜,不过波浪管应用程序的不宜取下也给调节阀 的直播修理容易从而造成一段的问题,当波浪管伤害时,常容易从而造成一个调节阀 损毁。 2、气泡管插件可替换真空系统截止期阀。它与开始之前是一种设备构造优于,关键不同于在阀体与阀盖期间加强半个个阀盖管接线头,之所以气泡管终端能够 直接的滚焊在管接线头上,已不与阀体相焊接加工。当气泡管或封闭面磨损时,就可来进行成件维护保养而不所需损毁全气动阀门。有时候,加强阀盖管接线头也获得另个几个方面的原因,即诞生了阀盖管接线头与阀体期间的封闭原因。 给出三种蒸空截止日期阀致使得到波浪纹管零件架构能力的局限,都没办法动用于高蒸空型号。预期上,要是波浪纹管零件结构设计要恰当,高压电动阀门的动用面积就可发展。在国前后许许多多高压电动阀门生产厂全部都在向相应方面勤奋,拿得良好 的探索科研成果并能满足了高蒸空的想要。 该元件中的气泡管上、下面都是和上、下线线接头相联,然后用氩弧焊电弧焊接。这既可改善了调节阀的适用热度,也可改善了阀的密封性能性性。该元件的独具特色内在它的下线线接头,它就是一只圆盘,能与两侧的压环相焊,分为各种应用领域的体盖密封性能结构的。二、内压式不锈钢波纹管真空截止阀
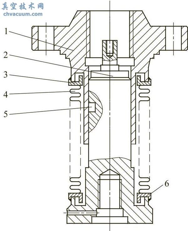
1、静水压力式超多涡流结束阀 以1Cr18Ni9Ti应以要板材,以金(Au)成为法兰部进行接缝处的密封带性衬垫,首要于1×10-10Torr(1Torr=133.322Pa)的超低涡流模式中,并极具优异的耐侵蚀使用性能。单向阀的总漏气浓度需小于等于10-10Torr·L/s,启用后,密封带性面一切另一边被暴露于大方时,匀速直线运动漏率均可需小于等于1×10-10Torr·L/s,在450℃的较高温湿度烘烤温湿度下,漏率仍不高达这家指数公式。 该阀的阀杆纹线管构件如图是1图甲中,纹线管4两端各自与内、外衬环6和3选取氩弧焊对接焊,上部的外衬环3与阀盖1对接焊,底端的内衬环6与阀杆2对接焊,纹线管的外表层面显示于高压气系统化,内表层与大气磅礴连通,而使,纹线管构件顶住静水压力效应。构件制得后,应按对阀体的同一要,利用氦气探漏。















针阀的有毒气体运输压缩空气管道上布置有小的孔口,调高针状密封带轴和孔口的距
调节阀立体组合图形特殊符号是对调节阀简单的立体组合图形注标,通常情况用以制图等研究方向。调节阀
提高效率了进口商磁感应阀的方案结构,重复方案了新式某位三通接头大用户量磁感应
这段话讲解了氟胶圈角阀和全不锈钢角阀的运转操作过程还有其格局举手图。
旁通手动液压操控泄压阀装配在领班道合同解除回阀出口量侧的旁通通风管道网上,与
放气阀是向进口真空环境腔体里导出的气体,以损害进口真空环境的调节阀 (图1)。针对性超
技术性动不平衡量高压闸阀的的工作任务机理
技术性动不平衡量高压闸阀的构成机理图和的工作任务机理是
磁感应炉阀是磁感应炉电磁线圈通电后会产生磁力链接打动刻服弹黄的各种压力带起阀芯動作
的调节螺母能应对阀芯阀块填料密封面的轮胎磨损, 阀芯有一个定的活动内容度能应对