轨道球阀阀杆失效分析及其结构改进方案
2014-08-23 施伟明 江苏神通阀门股份有限公司
探讨了轨道球阀分段式阀杆断裂原因,分析了失效阀杆的光谱、金相以及硬度检测结果,提出了适合阀门实际工况的解决方案。
1、概述
轨道球阀综合了球阀、闸阀和截止阀的结构特点,具有阀门启闭时密封面无摩擦和操作扭矩低等优点,在煤化工系统中得到广泛的应用。某煤制油公司制氢装置膜分离系统的空压机管道上应用的国外进口手动轨道球阀,其规格为NPS 8,压力等级Class 1 500,工作压力19. 5MPa,阀杆为分段式结构。在空压机检修时需要对阀门进行操作,但阀门开启或关闭阶段均发生过阀杆断裂现象。
2、问题分析
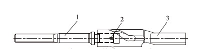
道路蝶阀启闭阀具体步骤中,阀杆既受飞速转动的行动力矩,一并也承受压力下的行动的阻力和拉力。数段式阀杆包含上、下两个方面。上阀杆方面还有梯状外管螺纹段、活性炭过滤器隔绝胶段同时倒隔绝胶段,下阀杆方面还有螺旋运动槽段、楔形段同时扁方段。下两种阀杆由外管螺纹加防转销联系( 图1) ,其影响的部包含下阀杆( 图2) ,而上阀杆无影响。测量能够 影响的下阀杆建筑的原材料中各因素含量的( 表1) ,其包含420 建筑的原材料的需要。对影响的阀杆抽样检验,能够 其氏硬度( 表2) 、金相( 图3) 及拉伸运动测试( 表3) 结论。







3、工况分析
管道阀门工程状况前提条件为氯气和塑炼氢等融合性材质,各举氯气纯度约50%,塑炼氢纯度约0. 2%。整合研究分析报告单,阀杆无效的大部分缘由是因为氢致裂口( HIC) 和塑炼物扯力龟裂( SSC) 所导致的。 氢致裂开是仍然不锈不锈合金钢料料在常温压力氯气周围工作环境下操作方法时,氯气蔓延倾入不锈不锈合金钢料料中,当水冷却方式中,仍然氢来不抵从不锈不锈合金钢料料中向外移除,不锈不锈合金钢料料内马上会误吸必须的氢,为了产生裂开。塑炼物能力素质发裂是含H2S 的偏酸周围工作环境,当这种易受危害的原物料的的表面上与偏酸空气了解时,H2S 大分子再次发生化学式影响,出现废金属塑炼物和氢水分子,氢水分子在能力素质比较高的裂开端蔓延到的原物料,晶格、晶格的表面上或者晶界上氯气的蔓延和沉积降底了的原物料可塑型塑性形变的能力素质,所致氢脆,使裂开更易扩充。 路轨列车阀体阀杆断必备经济条件了氢致划痕和混炼物承载力比空鼓会发生了的3 个经济条件,即承载力比、物料和资料。①阀杆断处设备构造复杂的,承载力比收集。②阀杆组合填料密封组合填料位子正处在路轨列车槽顶部,即阀杆断那部分经常性与物料了解,可是物料为高压力氮气和混炼氢等混物。③420资料不是种马氏体不透钢,要经过蘸火治理 后其生长率和收拢率过小,脆性强,资料强度过高而柔韧性问题。从而,单向阀选择三段日期后,阀杆现在已经有划痕,否则对单向阀采取操作的,即会造成阀杆破损,与路轨列车单向阀在按钮时会发生了阀杆断的前提接合。4、解决方案
运用阀杆的刚度追求和止回阀的便用生产,可适用不同搞定措施。①永久保存以往阀杆节构。上阀杆节构十分简单易行,适用420 文件能充分考虑便用追求。下阀杆节构繁琐,文件适用17 - 4PH。此措施的的特点是成较低,代加工工艺便,装配工艺十分简单易行。②将阀杆设计的为一梯式节构( 图5) ,即將左右侧连接方式的阀杆转变成局部化研发,阀杆文件建议选用17 - 4PH。即便是局部化阀杆代加工工艺一定难度偶有曾加,但有中受内螺纹标准退刀槽和防转销孔对阀杆刚度克制的的影响,阀杆的局部化安全性能得以加强。
















了解了温度高硬填料封口阀体的填料封口结构特征,研究分析了不同的硬填料封口阀体的阀块结