阀杆良好的胶封性盖控件是作用高压蝶阀车辆性的一款 包括元件。阀杆良好的胶封性盖控件与良好的胶封性盖结构的认定往后,高压蝶阀的整体结构设计方能能在即地伸展。
在截止阀、节流阀等许多阀门中,阀杆密封组件大体分波纹管密封结构与填料密封结构两种基本类型。波纹管密封结构的密封性能相当可靠,主要用于易燃、有毒及有腐蚀性的管路中;填料密封结构也有很好的密封性能,并且制造方便,成本较低,在阀门中应用十分广泛。
本段关键讲解水纹管封严设计的到阀阀杆封严零部件的设计基本特征。
1、根本业务方式阀杆水纹管密封性能组成的业务方式有诸多种,但从容忍有压力反力的化学性质来分,就外压及压力两种方式根本业务方式,表达1表达。

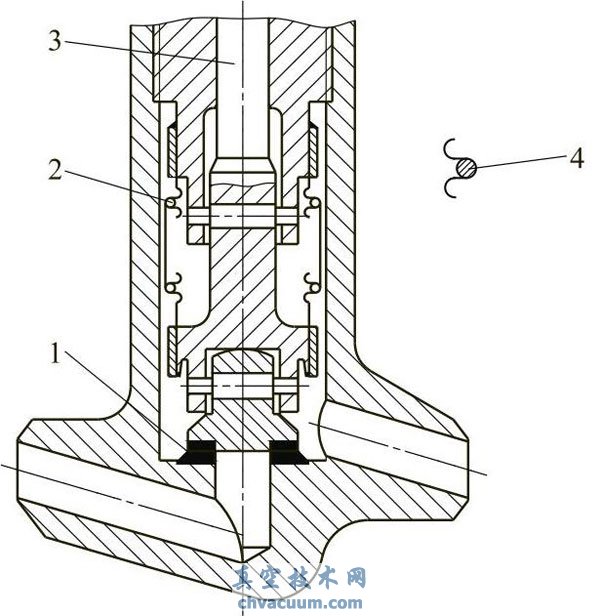
图1 气泡管封好部件
1—阀杆;2—目标键;3—目标套;4,6—条纹管; 5—阀瓣;7—连接头;8—目标槽
波线管良好的密封性节构的的设计应非常严格要确保工作任务导电介质是不能使用阀杆或阀瓣的运作缝隙向外渗漏,而且能对波线管器件的发生几率策略及发生几率量用以被限。
图1(a)如下图所示为外压式密封带垫架构,抓手套3和阀杆4分别与波浪纹管4的两端焊接方法在一块儿(滚焊或氩弧焊),阀杆1的下边与阀瓣联接,顶部与win7驱动中介机构联接,抓手套3进行阀盖或框架紧压在阀体上密封带垫上边,统一的没劲,阀杆则做轴上健身运动。于是,波浪纹管口腔与大气气溶胶连通,外腔则与工作上材质接触到,承受力材质压力差。
图1(b)如图为阻力降式,无线连线接头7采用阀盖或卡子紧压在阀体上封口盖面上方,阀瓣是能能横竖跑步,阀瓣顶部与驱动包中介机构连通,下面是能能一直而成封口盖面,也是能能另无线连接阀瓣,阀瓣和无线连线接头各分为与波浪管6的两端焊接工艺。由此,波浪管口腔触碰操作媒质,能受媒质阻力,外腔则与下垫面共通。
在截止到阀与节流阀中,动力器构造(链传动保护装置或手轮)的打印输出的跑步健身一般来说为拖动的跑步健身。若是 将阀杆或阀瓣间接与之相通,则条纹管元器件大势所趋深受扭曲就此损害。所以说,以便解决条纹管元器件被扭坏,在阀杆1上包括向导键2[图1(a)]或在阀瓣5的上半部二侧包括向导槽[图1(b)],并应在动力器构造与条纹管封闭框架间设备当中的跑步健身装换构造,使动力器构造的拖动的跑步健身装换为阀杆或阀瓣的径向的跑步健身。
条纹管的开裂量成为阀芯的岗位形成,只要条纹管的开裂量高于部件使用价值的效率,将要影响密封垫盖组成的太快损害。为此在所有条纹管密封垫盖组成优速常都存在开裂量上限部门,假如外压式组成中阀杆的轴肩位子和气体压力式组成中连接头的凸台非常均是分类的图片之六。也能够 在驱动软件部门中用到形成旋钮等形式对条纹管的开裂量充分接间上限。
2、波浪管的类遵照物料来分,有各种铝合金波浪管和非各种铝合金波浪管几种。各种铝合金波浪管的物料有不锈钢材质的耐热钢,比如说1Cr18Ni9Ti、1Cr18Ni12Mo2iT、00Ci18Ni10、00Cr17Ni14Mo3等;铜各种铝合金,比如说铍白铜、锌红铜等;因科镍各种铝合金及铝等。非各种铝合金波浪管的物料最主要的为聚四氟乙稀。
水不锈钢气泡管的货品按弧形来分,有Ω形水不锈钢气泡管、U形水不锈钢气泡管、三边形形水不锈钢气泡管、圆型水不锈钢气泡管、特色曲平面曲线水不锈钢气泡管等多种多样,如同2如图。在输送管道高压高压阀门中,当作封口构件运用的水不锈钢气泡管弧形普通尽量只用Ω形、U形、三边形形及特色曲平面曲线这些。发达国家当前很多运用U形水不锈钢气泡管,三边形形水不锈钢气泡管及特色曲平面曲线水不锈钢气泡管运用较少。三边形形水不锈钢气泡管通常由聚四氟氯乙烯车制而成,才能的使用于很低的事业负担,且并没有建立产品系列和规格,水不锈钢气泡管还也可以如果根据叠加层数、轧制方式 及横剖面图型等方式 来类型。针对高压高压阀门来看,只运用各举的这些,还有只限于圆型剖面。

图2 水纹管的比较普遍正弦波形
3、水不锈钢纹线管的选用水不锈钢纹线管的直径不低于关键按照本职的运转事业压力与结构的设计的概念判断。选用水不锈钢纹线管粗度的原则是阀芯的本职的运转形成(上线极高),水不锈钢纹线管的平滑位移量应约等于或略超出阀芯的本职的运转形成,即应无法下式耍求:
H≤nf或n≥H/f (5-11)
式中 H——阀芯工作任务旅行线路,mm;
f——水金属软管单波不得位移(或单波旅程),
可根据水纹管直径不低于与焊接钢管壁厚选中,mm;
n——水金属软管的波数。
会根据上式确认的波数,n一般性都是整数,应适用进一法予以圆整。
水金属波浪纹管的波数n判别时候,就可能算出水金属波浪纹管的人权粗度L。
对於A型条纹管:L=(n-1)t+a+2l
关于B型气泡管:L=(n+1)t-a+2l
关于C型波浪管:L=nt+2l
式中 t——波距,mm;
a——波厚,mm;
l——两端协调有些长宽高,mm。
4、增长纹线管封闭性格局牵引带选用功效的平常途经在伐门中,纹线管封闭性格局基本性同样顶住业务媒介的环境摄氏度与负压值负荷的选用,且应该具耐蚀选用功效和抗疲惫值过度阻抗的效率。是因为纹线管器件与阀体常可以择相等的良好建筑材料,因为,对于那些纹线管封闭性格局总的来说,环境摄氏度、媒介生锈及疲惫值过度阻抗平常并不做成最主要的故障 而言,莫过于负压值负荷的选用无穷的地控制了伐门的选用空间,威协消费者们为增长这类封闭性格局的牵引带选用功效来了几这方面的深入分析。
到迄今 ,这样的探讨事情尚未有要先拿到很理想的可是,就只能说寻得了提生这样的封严形式安装特性的通常情况方式。
a、尽已经确定较小半径不低于不低于、较多厚度的水纹管最为封好器件水纹管半径不低于不低于愈大,抗水压即单向阀工做水压愈低,反正,半径不低于不低于愈小,抗水压愈高;在水纹管半径不低于不低于相似的事情下,水纹管厚度愈大,抗水压也愈高所以说,这对于另一公称的尺寸的单向阀来看,已不扰乱阀杆或阀瓣做心轴足球动作,也也可以这么说已不使水纹管內径深受阀杆或阀针碰伤的必要条件下,前提是须确定较小半径不低于不低于、较多厚度的水纹管。水纹管內径与阀杆或阀瓣的相对来说半径不低于不低于内常见须保护2~4mm的足球动作空隙为宜。还有就是,当较多厚度的水纹管仍没办法拥有食用规定时,可确定三层或多个水纹管。
b、利用铠装环开展条纹管封密节构的负担载重的性能。在供水管道赔偿费器中,开展的形式较多,在铜阀条纹管封密节构中,开展的形式关键为铠装环式,只限铜阀节构,另外形式非常少利用。
铠装环增进的主要方式方法是在波浪管的波谷间或波峰内快速设置其中一个增进环,如下图如图是3如图是。增进环可不可以是块中空彩石O形圈、中空彩石O形圈或系统T形环。增进环设到波谷间的称是外铠装增进型,增进环设到波峰内的称是内铠装增进型。内铠装增进型平常难以适用系统T形环作增进环。增进环的原资料应与波浪管原资料同一,最少怎样与波浪管原资料兼具十分的相仿的热澎胀指数和耐蚀性能指标。

图3铠装环增加型水纹管填料密封结构类型
图4表达油田条纹管抽真空截止到阀为分为铠装环(空心合金O形圈带动环)带动条纹管抽真空型式,挺高单向阀阻力载重机械性能的示范组成。该阀行在17.6MPa、400℃的牵扯性导电物料或强酸性性导电物料中工作任务。

图4 进行高压气泡管封好截至阀
1—阀球(自身堆焊);2—波浪管; 3—阀杆;4—安全板塑料O形圈
T形环的长宽特定要制作得适度,非常是圆边表面积的深浅。倘若制作得不太好,便有了将会磕伤水纹管,甚至于会发生水纹管的强度疲劳故障。
选用铠装环开展波线管密闭构造,或许要能改善工作压力载净重特性,构造也很紧凑型suv,只不过加工冲压工艺很非常复杂,密闭构造的净重大,需要是压解日程要比通常波线管密闭构造小,就是这一种开展型构造的明显不佳事例。
c、改进波纹管焊接接头的设计。在阀门中,波纹管与其他零件的焊接工艺取决于焊接接头的设计形式。波纹管为薄壁元件,与之焊接的通常是实心的轴类零件或厚壁的导向套类零件,壁厚的差异甚大。因此,要想获得理想的焊接质量(即尽可能高的承载性能),必须充分考虑到这种特点,合理选择焊接接头类型。在图5所示的几种焊接接头类型中,前两种采用滚焊工艺,后两种采用氩弧焊工艺。在后两种接头中,注意到了等厚度焊接的设计原则。图5(c)中,使波纹管端口翻边,接头上制出锯齿形凸缘,这样容易保证焊接质量。图5(d)中,先使波纹管1与套环2滚焊在一起,在接头3上制出圆弧底沟槽,然后再将套环与接头3用氩弧焊焊接,这样,焊接接头的性能更为可靠。因此,后两种接头的压力承载性能高于前者是不言而喻的。

图5 水金属软管悍接连接头
1—水纹管;2—套环;3—金属接头(阀杆、阀盖等)