截止到阀的阀盖与阀体的连结能用螺孔、活套法兰、焊,或灵活运用于压差自胶封试验装置,也就可以把阀盖和阀体搞成一名产品而不需连结。
1、 螺纹连接阀盖
英制螺纹标准进行对接阀盖(图1)的设计较简单,的价格比较。因为阀盖的密封垫与翻转面融洽贴合机,而宽松或旋紧阀盖很已经会摧毁紧密对接面,倘若类似这些伐门寸尺最大,则旋紧阀盖都要的起动转矩就巨大。那么,的使用英制螺纹标准进行对接的阀盖往右边只仅限于公称寸尺越来越于DN80的伐门。

图1 英制螺纹连到阀盖截至阀
1—阀体;2—阀瓣;3—阀杆;4—阀盖;5—弹性生物填料; 6—弹性生物填料压套;7—螺套;8—手轮
阀盖也会由随便的外内螺纹标准环套与阀体联接,如下图图甲中2图甲中。种的结构的的特点是其黏结处被固定,由此黏结面不会轻易發生相对而言手机端。由此,就是经常地稳固阀盖,就不易受伤黏结面。同外内螺纹标准联接阀盖相同,用外内螺纹标准环套联接的阀盖也只受限于公称长度不太于DN80的伐门。

图2 带外螺纹的管套节进行连接阀盖和阀体
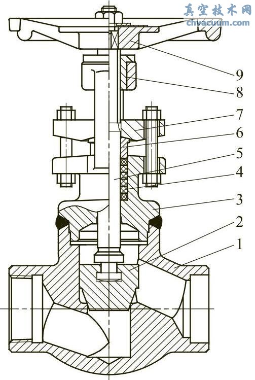
如若阀盖由就能点焊的原材料原材料,管螺纹连结的阀盖还可以实行密闭焊,如下图图示3图示。

图3 展开填料密封焊的外螺纹连接方式阀盖到阀
1—阀体;2—阀瓣;3—阀盖;4—塑料活性炭过滤器;5—阀杆; 6—塑料活性炭过滤器压套;7—塑料活性炭过滤器密封盖;8—阀杆螺母;9—手轮
2、焊接连接阀盖
电焊激光焊接拼接阀盖(图4)的结构什么造句市场经济况且极其不靠谱,不受到单向阀寸尺、运用有压力和水温的制约。但其过低是定期检查难易度,就车掉激光焊接能力沾染到单向阀的内部。故而,电焊激光焊接阀盖经常仅用做短期勿需定期检查的单向阀、次性单向阀或对阀盖拼接处开始封好的难易度低于拆解单向阀开始后期的维修保养的单向阀。

图4 悍接联接方式阀盖的螺母联接方式阀盖到阀
1—阀体;2—阀瓣;3—阀盖;4—规整活性炭过滤器;5—阀杆; 6—规整活性炭过滤器压套;7—规整活性炭过滤器旋盖;8—阀杆螺母;9—手轮
3、法兰连接的阀盖
活套蝶阀法兰盘相衔接的阀盖差用管螺纹相衔接的阀盖领先事例源于其紧定力还耐心可规划给故而的高强螺栓螺母。故而活套蝶阀法兰盘相衔接的阀盖可运行于于一些尺码和负担级的调节阀 。可是,由于调节阀 尺码的增长和负担的提供,此类构造的调节阀 的大小和权重就愈发越大。当调节阀 作业摄氏度低过350℃(600℉)时,高强螺栓螺母的有着技能是因为应力松弛下垂松弛下垂而大大大大减小。在运行请求严苛的公共场合,活套蝶阀法兰盘相衔接也就能够开始密封隔绝焊。
4、压力自密封阀盖
图5所显示的伐门为负担自胶封阀盖,这样的设计根据有机溶剂负担压紧黏结面,能克服了别的设计体重大的优缺点。然而时间推移有机溶剂负担的加大,阀盖的胶封会变好越发越紧。这样的设计已是为高温天气高电压的超大型伐门先行运用的阀盖接习惯。

图5 压强自密封性阀盖的直免疫印迹最迟阀
1—阀体;2—阀瓣;3—阀杆;4—向导架;5—阀盖; 6—密封隔绝环;7—人工湿地填料;8—制衡环;9—卡箍接头; 10—向导块;11—碟形扭簧;12—有压力稳定孔
阀体和阀盖接连处的学习压自抽真空隔绝性结构特征,实现气动阀门内粘性流体的学习压出示阀体和阀盖的抽真空隔绝抽真空隔绝性。阶段学习压自抽真空隔绝性适用金屬抽真空隔绝性环和符合抽真空隔绝性环(柔软性石墨+ 304不锈铁丝)两类。金屬抽真空隔绝性环适用软钢并除外表面层镀银,银的塑性变形最号,比较容易选中抽真空隔绝性上的分子运动缝隙,因而以保证高压变压器下抽真空隔绝性环的抽真空隔绝性耐磨性。
在高溫及有力腐化性物质下,合金金属件胶封圈环可选取316不绣钢圆管的表面不绣钢,但该胶封圈环易对和胶封圈环玩的阀胃中壁发生受到磨花,为齐全化解这种间题,在阀胃中腔与胶封圈环玩处堆焊Stellite硬质合金,会有效解决 因阀体受到磨花发生泄密。为解决给出烦琐的营造工序,已经在高溫和温反复发生改变的商务活动,也可选取韧性石墨结合胶封圈环,该胶封圈环由韧性膨涨石墨和304不绣钢圆管丝主成,整合了合金金属件胶封圈环和韧性石墨的优势:,完成了很不错的胶封圈结果,但在高压阀门返修后必须换新胶封圈环。
为有效确保高压阀门在经济压力值差及水温冲击大的情况下下,经济压力值差自封口阀盖还能增加封口机械性能,能够在阀盖的拧紧螺柱上添载碟形拉簧,使经济压力值差自封口阀盖存在动电流模块。
在阻力或温度因素迅速起伏转变的情况下下,动电动机扭矩阀盖螺帽儲存了需要的要的封严电动机扭矩。动电动机扭矩自动化赔偿金起伏转变中的发展,在阻力可以减少时,阀帽会呈现运作,保护阻力封严垫圈上的正向着电动机扭矩。
5、无阀盖连接形式
小行载止阀可勿需选用阀盖联系,见图6。按照塑料生物填料函封口就可以排斥到伐门内外部,塑料生物填料函封口的面积应如能使伐门组件按照。

图6 无阀盖连接方式形态截止期阀
1—阀体;2—阀瓣;3—活性炭过滤器;4—活性炭过滤器压套;5—活性炭过滤器销钉;6—阀杆螺母;7—精密轮毂轴承;8—手轮