截止阀阀体的基本形式
2020-04-19 真空技术网整理 阀门手册
截至阀阀体的基本上行式有T形阀体,角式阀体和Y形阀体。
一、T形阀体
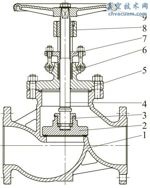
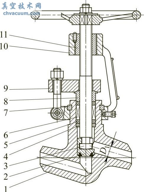
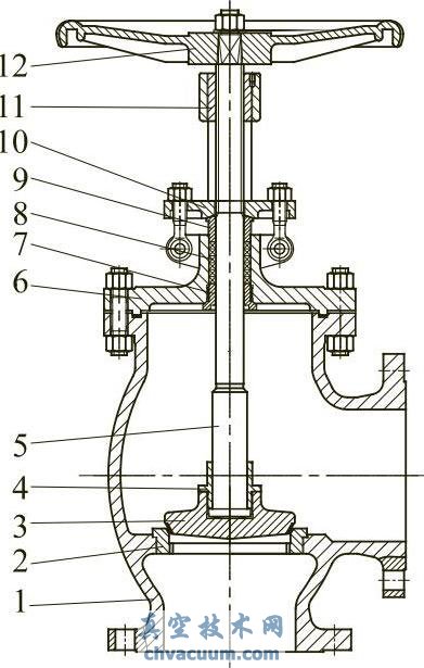
T形阀体是最经常用的,但有类似这些类型阀体的坎坷流道制造的流阻是作出各类型中高达的。T形阀体兼有低还是流动性特质和较高的压降。二者能能用做迅速节流,比如避开有效控制阀的旁一路上。T形阀体也能能用做仅让节流不考虑的压差降的在日常生活中。 T形阀体的性能有这三种节构设计,一项是欧洲其他国家的S形节构设计(图1),一项是南美洲的腰鼓形节构设计,即球心形(globe)节构设计(图2),还一 项是发电厂上较常用的Z形节构设计(图3)。



二、角式阀体
角式阀体(图4)的高压阀门施工在接近输送管九十度弯头价格一部分时,有两种益处:首个,与T形阀体比较,流阻大大大大减短;最后,安全使用角式阀体都可以极大减少输送管直接头和省去一款 九十度弯头价格。

三、Y形阀体
Y形阀体(图5)的设计制作,是因为使蝶阀的流阻减到至少程度较。这类蝶阀在打开时,流阻小还有密封面也耐造。Y形阀体在截止到阀的阀体方式中是流阻至少的,行长期性微启而无严重的冲蚀。










截止日阀的阀盖与阀体的接入用于螺牙、法兰部、手工焊接,或凭借于经济压力自
选文各用故事了最迟阀的阀瓣良好的密封垫性的几种技术要求,如平米良好的密封垫性、锥面密
阀瓣是最迟阀的开启闭合件,与阀球一件进行密封副接通正常或剪断材质。本