钠介质回路阀门的结构设计
2013-06-04 张猛 海军驻沈阳地区舰船配套军事代表室
介绍了钠阀的使用工况、技术参数、设计难点及解决措施,论述了钠阀在不同工况下采用结构的先进性和合理性。
1、概述
核级钠单向阀(左右简写钠阀)一般应用软件在快中子繁衍的反应堆一、二电路开关简答各铺助整体化、钠的工艺整体化、已经破损侦测整体化、仪控控制整体化的给水管铺设上,对给水管铺设中的媒介起剪断或输送机使用。2、性能参数
公称负担 2.0MPa 公称通径 25、40、65mm 运转温湿度 420 ℃ 做工作材质 液体复合钠 接触手段 电焊 安全保障职务级别 II 抗振行业类别 II 的品质平衡等级 QA1 干净的度 A类 耐压件制作选用平均寿命 30a 无缘设备故障率旋转开关周期时间 <1500次 耐冲击实验设计气压 3.0MPa3、工况分析
(1)由于液态金属钠是一种极活泼的金属元素,具有很高的反应活性,能直接与O2、H2、S或H2O反应,产生可燃气体。因此阀门密封可靠性要求极高,必需保证不得有任何外泄漏现象的发生。
(2)主要是因为固体彩石钠在97.8℃下将由固体提升为固态硬盘。对此,单向阀务必要在420℃温度高度下长久正常运行,务必具有着耐温度高度功能。 (3)液体金属制钠在常溫下呈固体,化学式生物性质尤为稳重,遇水后或潮气表现凶猛,易促使上火或着火。因此当有机溶剂经流单向阀后,符合要求其体腔内尽将不使用量有机溶剂。4、密封结构
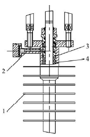
4.1、承压壳体密封结构
首要压力管道件阀体、阀盖、阀瓣选用公民权锻毛培房,外内面上机手工加工热挤压。在铸造厂环节中,因为材料材料塑性材料变化的报告,使毛培房材料材料刷出较细的晶体。同時能压合铸造厂机构的企业内部疵点(如小的磨痕、孔洞等),所以提升了材料材料的自动化性能方面切实保障压力管道箱体封闭可靠的。 4.2、阀体与阀盖连入处抽真空节构 阀体与阀盖连到处是抗压罩壳良好的封严性隔绝性的至关重要的位置。关于公称图片尺寸大小[DN25球阀,其阀体与阀盖氩弧焊连到,逃避了阀体与阀盖连到处信息泄露的风险(图1)。关于公称图片尺寸大小\DN40球阀,其阀体与阀盖运用螺柱连到唇边焊良好的封严性隔绝性组成部分特征,良好的封严性隔绝性焊道在保修时准许全切。这类良好的封严性隔绝性组成部分特征耐磨性是真的吗,不被溫度跌涨的应响,衡量耐高温良好的封严性隔绝性耐磨性,使有机溶剂无其它外露(图2)。









