介绍了超声焊接原理及焊线设计,利用SolidWorks软件建立阀门电动执行器主要部件及装配模型,运用ANSYS软件对阀门电动执行器模型进行应力分析,对比屈服强度,为改善其结构特性提供了理论依据及参考。
来进行SolidWorks系统游戏实现目标了单向阀直流自动伸缩审理器重要零件及搭配的小平面绘制,用ANSYS系统游戏定量分析了单向阀直流自动伸缩审理器底托的Z向最好位移和最好弯曲应力,仅以来对超声清洗对焊设计方案来进行测量,绝对单向阀直流自动伸缩审理器金属外壳组成的可靠性,降底对焊报警率。
1、阀门电动执行器的塑胶超声焊接设计
(1)塑膠mri电焊方式
塑胶包装品多普勒彩超对接焊是由突发器产生了20kHz(或15kHz)的各类高压、低频走势,凭借换能系统化把走势改换为低频机械性运动,加于塑料件包装品零件上,凭借零件的表面及非理性原子间的出现摩擦而使传回到usb标准接口类型的溫度表提高,当溫度表到达此零件任何的凝固点时,零件usb标准接口类型快融化,骤然图案填充usb标准接口类型间的细缝,当运动退出,零件同时在必然的负担下一系列冷却成型法,便到达非凡的对接焊实际效果。一些热韧度胶件均可在使用多普勒彩超波熔接补救,不需调用溶液或结合剂。
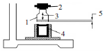
高周波电焊目的见图1。通常理解,高周波塑胶材质的电焊时,焊头通常使用的产品质量比较轻的,承载力很好,耐摩性强,高周波电荷转移较不错 的金属制板材铝。

图1 多普勒彩超点焊原理图
1.焊头 2.波幅配电变压器 3.焊头做余弦载荷激振 4.超声检查配件 5.波幅
(2)阀体电动三轮审理器金属外壳板材
调节阀直流電動施行器设备壳环节看做齿圈传动设计设计与电源线路把握环节的膜蛋白,设备构造的密度符合要求大,壁较硬,设备构造的形态较冗杂。因此不同于的工程塑料食材双方超声清洗,较为严重的不会会产生根本性是没办法手工焊接的現象,普遍工程塑料食材中能选30%PC+70%ABS看做调节阀直流電動施行器设备壳(即上盖和脚座)的木头材质,PC为聚氯氯氯乙烯,ABS为苯氯氯乙烯-丁二烯-丙烯晴共聚物,PC与ABS的结合食材,兼具PC和ABS双方的优缺,具备着好的生产加工厂性,流入性好,密度较高(抗拉能力伸密度σb=56MPa,抗屈曲密度σw=86MPa),机特征好,热安全承载能力处理好。
(3)管道阀门智能施行器护壳的高周波波补焊头构思
在止回阀智能审理命令器护壳的彩超波悍接头设计的整个过程中,来说上盖与托架的彩超线某种程度,必须要在其的结构上应留养分市场导向器(即三边形形小骨),可降低悍接养分还是不但缩减悍接时候,但有即使会出现小部门溢料,影向外光。常见为处理溢胶而影向外光,将彩超线做在止口内,会有效处理好塑胶材料熔体的冲出。彩超悍接具备错乱的机率,顾虑到止回阀智能审理命令器的外光,在上盖与托架的悍接处留存美工线,不能在零件变行后因起上盖与托架发生错乱,又不能刮手。为便利悍接,美工线常见做在托架上。顾虑到彩超悍接时熔体易在上盖或托架的直拐角处出击,必须要在其拐角处用R角过渡期。仍然止回阀智能审理命令器的上扣上附有线路部门,不可避免造成的彩超焊头与彩超线的差距大过6.3mm,所选悍接方式英文为远场焊。远场焊不能使上盖和托架出现磨痕还是另外丢失。
在AutoCADAPP中用于出上盖与底托的焊线图样(见图2)。

图2 上盖与支撑架的焊线
使用SolidWorks软件下载把上盖与基座的二维绘图制作来,上盖与基座壁厚均为2mm,两者的实际绘图所示3。

(a)上盖沙盘建模方法 (b)底架沙盘建模方法
图3 上盖与脚座三维立体绘图
以后再采取SolidWorks软文做成铜阀电动四轮三轮进行器另外元器件的3D建模 ,并在SolidWorks软文中新创建安装体,放进去零元器件,利用合作位置位置零元器件使之共同位置位置。安装后的铜阀电动四轮三轮进行器实体的建模 见图4。

图4 蝶阀电动伸缩程序气动执行器小平面类别
2、基于ANSYS的底座性能研究
ANSYS比较有效元系统是融结构的、流体力学、电场强度、人体磁场和声场概述于一体机的专业专用比较有效元概述系统,它能与往往CAD系统数据库接口,满足数据库的扫码和互换,举例说明SolidWorks,AutoCAD等,是現代物料规划中的层级CAE产品之三,采用常见。论文采用ANSYS系统对闸阀電動继续气动执行器机壳3d模型完成应力比概述,需要响应地减低科学实验花费及规划时段。
(1)模形的加入及不足元模形的提取
将SolidWorks创办的调节阀 電動执行命令器脚座实体3d建模工具留存为.x_t各式,之后向ANSYS中导到脚座实体3d建模工具。分类机组性质库时,在Solid45首选项中,选定 八连接点四通体机组Brick8node45来测算3d立体压力。脚座实体3d建模工具进行进行分析时选则3d立体的Solid45机组,不要设置成实常数。注意压力进行进行分析中必要分类的原原文件的可塑形模量和泊松比,塑形疑问中必要分类的原原文件的压力应对感情。PC与ABS的组成的原原文件,其可塑形模量E=2.6GPa,泊松比μ=0.35,在分类的原原文件实体3d建模工具技能工具栏中的EX文章框中输进2.6e9,PRXY文章框中输进0.35。此外还需分类PC与ABS的压力应对感情(见图5)。

图5 设定PC与ABS的弯曲应力应力感情
再单击装修产品弯曲内应力内应力应力应变对话的英文框中的Graph命令提示符,则可要出某些的装修产品弯曲内应力内应力应力应变联系图(见图6)。

图6 产品剪切力应力社会关系图
用MeshTool工貝对高压阀门智能执行工作器的脚座展开网格区域细分,具体的区域细分的最终见图7。

图7 对体分布的成果
即转换了止回阀直流电动强制执行机构底托的非常有限元对模型。利用分块法制造网格,要确保摸块有好一点的要素,在底托拐角处、模拟输出孔和螺母接处等高刚度区利用密码保护网格,以要确保高刚度区有较高的计算出准确度,一小部分底托共确定60983个摸块,15174个端点。
(2)施加压力位移边际和位移承载力并推导
调节阀直流电动强制电动运行机构上盖与基座是按照多普勒彩超波焊接方法链接的,多普勒彩超焊头产生在强制电动运行机构上的超载负荷按照上盖传导到基座上,此超载负荷产生在基座与上盖边侧触碰的平面设计上。而位移界线因素为基座边长很多方学习的位移固定住。
选托架基材,浏览器点击ANSYS中在顶点上加入的位移独立性条件聊天的英文框,选ALLDOF(很多方向左的位移),即ANSYS在筛选上面加入的肯定的位移独立性条件。一模一样再浏览器点击在顶点上加入的位移独立性条件聊天的英文框,选UZ(Z方向左的位移),在Displacementvalue文本格式框中搜索3,即ANSYS在筛选上面加入的肯定的位移荷载。再浏览器点击Sol'nControls强制性,中Everysubstep首选项,在Timeatendofloadstep处搜索1,在Numberofsubsteps处搜索20,接下来浏览器点击Solve中的CurrentLS强制性做好近似计算。
(3)产看结果显示
给予位移界限和位移力矩近似计算后,可以看到看底架的变弯,底架的Z向变弯图长为8。

图8 防尘盖的Z向弯曲变形图
由托架的Z向形变图确知,托架沿Z轴方朝上的主要位移(DMX)为0.002197mm,与先前方案的超声心动图焊线在角度方朝上总体没位移不兼容,故焊线角度方朝上的规格尺寸方案合理性。在检查完托架的Z向形变图后,还必须出托架的vonMises应力应变遍布图下图9。

图9 座子的vonMises应力划分图
3、结语
(1)由刚度布置图可得知比较大刚度情况于支撑架与上盖尾部碰触的平面设计拐角处,比较大刚度数值为0.0015MPa,远高于材质的妥协硬度,刚度布置均匀想象长期存在,但不够以对支撑架出现刚度毁掉。并且比较大弯曲变形也具备的工作要;
(2)SolidWorks拥有力量强的型号制作系统,而ANSYS拥有力量强的最低值探讨系统,下面合理借助上面的2种軟件完成无接缝衔接,合理借助自身的系统作用分辨创建型号和完成探讨,增加了设计制作高效率。