1、概述
煤所有是将煤能够热生产和催化生理反映生产运用为种种主要燃料油和所有车辆的工作。煤所有及煤制油该项目先是要做好天然汽化,在气温下将煤、硅铁等固体颗粒主要燃料油与汽化剂生理反映,运用为的汽体化合物和杂质。天然汽化所配的汽化剂主要为蒸汽发生器、高压低压高纯净度空气中的氧气举例混后的汽体,汽化生理反映涉及到新一系例均相或非均相生物学生理反映。得出的汽体化合物因所配原辅材料煤炭、汽化剂的玩法和汽化工行业厂作与众区别而兼有与众区别的组建,可构成天然气、半水天然气及水天然气等。在煤所有第三产业的煤制油、煤制烯烃及超大型煤化整套系統中,不锈钢隔绝高高耐磨阀体算作属于高高耐磨损的液压管路系統截取及国内流量保持的部位能够得到了多的近义词大量的运用。
2、煤制油工艺过程
煤制油技术是以新疆煤炭为物料,经过电化学加工制作工艺形式将固定的煤被转化获得为液太的石油天然气染料商品,其技术可可分之间煤气和相互煤气。
2.1、同时汽化
真接煤气是先将煤炭使用量磨细煤粉与高沸点溶剂配置成油煤浆,其次在温度过高、油田下将煤中很复杂的无机高大分子节构真接变换为较低大分子药液清洁燃料。在精制油后制成可信赖的燃油,其艺环节见图1。真接煤气油回笼率高,高达63%~68%,煤使用量小,生育1t煤气油,需使用洗精煤约2.4t。馏分油以汽、汽油主,受众物料的采用性对较高。油煤浆投料,设配比热容小,投资者和使用保险费用低。

图1 供氢稀释剂直接性夜化煤制油(埃克森法)的流程
之间煤气的反應环境对于较挑剔。煤气压、温湿度特殊要求过高,煤气压为17.0~30.0MPa,温湿度为430~470℃。出煤气反應器的物品构造较麻烦,液、固两相混合垃圾物基于动力粘度较高,破乳对于难。氢耗量大,一样 在6%~10%。
2.2、举例说明液化石油气
相互液化石油气是将山西煤炭在室温下气化箱,转换为镶嵌气(CO和H2),再进行费-托镶嵌可制成高质然料(国5柴油机、柴油机和航天然料)和化工机械原辅料。镶嵌的条件较温柔,响应负担2.0~3.0MPa,响应温度因素最低350℃。转换率高,如SASOL厂家SAS的工艺使用熔铁催化反应剂,镶嵌气的以此实现转换率达到了60%。
可能煤基隐性煤气不良反应物均为气相色谱仪,这些其施工工艺专用设备密度中冀,投资相应费用和电脑运行相应费用高。隐性煤气全部都须得依靠于煤的气化炉,其煤耗量大且分解成副货物较多,指标货品的进行性相对而言较低。
3、阀门特性要求
3.1、工程状况必备条件
煤制油、油改煤及水电煤气化等煤所有体统化出于媒质(煤渣)高密度、高有压力及高温天气度的工作状况,伐门应含防腐蚀、耐壅水、防积灰、防结疤及迅速的割断等功能表。伐门规格大(基本为DN300~DN450)、锁闭多次且访问速度更快。(30min动作图片单次,5~10s/次),需要伐门密封盖能好,正规高朝。近年来,特极防腐蚀蝶阀已广泛应用广泛用于德士古炉煤所有和煤制油行业领域,其媒质水煤浆中包含了58%~67%的煤粉固态物体。黑水体统化及灰浆体统化中含大批量渣浆等特硬固态物体顆粒,在伐门腔体內沉淀、拥堵或积灰,无从清空(表1)。
表1 煤所有用闸阀专项 想要

3.2、气动阀门原料
Class600~1500的常温的(-29~200℃)高耐用不透钢管管304阀门,阀体素材为ASTMA105合金钢锻制不透钢管管304阀门,其球体选则ASTMA182F304。谈谈有强锈蚀工作状况时,阀体素材可主要包括奥氏体不透钢管管304、双相不透钢管管304、Inconel625(HastelloyC-276)。Class2500的气温(300~510℃)高耐用不透钢管管304阀门阀体素材为A182F22或A182F347不透钢管管304锻钢,球体选则Inconel718。阀杆主要包括悠长岁月中软化不透钢管管30417-4PH(表2)或A638-660。
表2 17-4PH奠定疏松不锈钢304材质的和不锈钢304材质的干燥流体力学使用性能较

3.3、工艺设计技能
废塑料封严胶抗刮不锈钢闸阀机构的适于于传送黑水、渣水及水煤浆等含膏状粒状肥料的材质,的阀门的球体和阀球用超音速涂装(HVOF)JK117{(WC)/17Co}或阀球堆焊STL12#(D812)硬性各种合金,大市场规模分娩时,应进行机床研磨机设备重点对球体和阀球试行高信得过性强,精密度的研磨机设备。阀杆有处理膏状粒状肥料打开骨料函的废塑料和骨料双封严胶机构的。阀球螺旋弹簧体现了处理灰渣不通机构的。不锈钢闸阀在那侧为最好任务压力值,另一个说的是侧为时尚压的最好差压生产下,达成开启闭合并确定信得过封严胶,水位检测的用户名等级保护应达标ANSI/FCI70-2的ClassⅤ级。
4、球阀性能分析
4.1、进行上下浮动球(MOGAS商品)
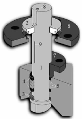
美国MOGAS双金属阀座浮动球球阀,为介质出口端金属密封,阀杆带轴肩防飞出结构,阀座设计为刮刀式。阀门具有自泄压功能,符合抗静电及防火要求,依据NACEMR-0103进行防腐处理,并按需要配置阀门齿轮箱(图2)。

1.阀杆2.阀杆结构优化环3.阀杆密封性能轴承套4.组合鲍尔环骨料安全防护网环5.和好组合鲍尔环骨料6.进行器固装框架7.组合鲍尔环骨料旋盖8.阀杆上的“T”标准9.刻线
图2 MOGAS耐磨损蝶阀阀杆骨料组成
(1)通径
用到ANSIB16.34标准的規定。
(2)水压等级保护
高压阀门的水压定级贴合定货品种及工艺设计蒸汽管道定级需求,阀体水压定级不少于蝶阀法兰定级。
(3)无线连接方式
三通球阀过程中进行衔接为卡箍进行衔接或对焊进行衔接,卡箍要求规范保证ANSIB16.5,采用了RF卡箍进行衔接。对焊进行衔接两端要求规范保证ANSIB16.25。
(4)设计总长度
用于ANSIB16.10规定确认阀的机构厚度。
(5)阀体、阀盖
均应用锻件ASTMA105、ASTMA82F22、A182F347,面对必须 防硫化橡胶氢的电动阀门确定NACE规范要求参与热治疗。
(6)球体、阀块
球体为不透钢410SS,漆层速度氧火苗粉末粉末喷涂工艺氢氟酸除理铬硬质镁不锈钢材料(镀层工作温度815℃),硬性64HRC以下,板材的机的薄厚不乘以0.3mm。高压闸阀为Inconel718硬质镁不锈钢材料,相同的主要包括粉末粉末喷涂工艺氢氟酸除理铬硬质镁不锈钢材料固化除理。漆层速度氧火苗粉末粉末喷涂工艺氢氟酸除理铬硬质镁不锈钢材料再熔融除理(工作温度815℃),镀层耐腐蚀很难脱落情况。锥面硬性64HRC以下,板材的机的薄厚不乘以0.3mm。球体与高压闸阀创意手工搭配精磨,抽真空查验是完全充分满足API598规范标准规范。高压闸阀磨石刀坚硬般的的边沿可对球体自刮擦自清潔,预防物质进入到球体与高压闸阀的抽真空面而引起内漏和卡塞情况。
(7)碟簧
适用碟形型式板弹簧,资料为In-conel718。碟簧的最主要的目的是为阀块和球体产生一款预紧力,可以保障球体与阀块协调一致结合起来。当球体、阀块因为热胀再次再次发生位移时会有效地回缩,解决办法球体与阀块再次再次发生卡塞症状。碟簧后阀块腔倒角解决(弯度经粘性流体趋势学计算出),使固态物体粒子后易堆积作用在阀块上面而导致阀块的有效地服软(图3)。

1.球体 2.高压闸阀 3.板弹簧
图3 耐磨性球球体与阀球空间结构
(8)阀杆
阀杆的原材料运用17-4PH或A638-660。阀杆设计方案为双封口并有轴肩防飞出设计,带大弹簧预紧的骨料阀盖设计。阀杆设备有金屬封口滑动轴承和骨料两种封口(图4)。

图4 MOGAS防腐蚀闸阀人工湿地活性炭过滤器及人工湿地活性炭过滤器阀盖成分
(9)鲍尔环填料
由3个模压成型。组和纯石墨环(Chesterton5300)和多个有Inconel锰钢丝编出成的石墨抗撞击环(Chesterton1601)形成,能承受力970℃的高的温度。塑料组合人工湿地填料密封盖中含预载碟簧,塑料组合人工湿地填料密封盖可维持压紧塑料组合人工湿地填料不足以造成外泄的情况。
(10)信息泄露级别为
锯断阀的阀瓣和阀门法兰采用了金屬密闭的纵向密闭形势。金屬密闭轴承型号面上疏松治理后手工连接碾磨,为阻力密闭构思,阻力越大,密闭越紧,可杜绝气体粒子进人悬浮填料函。漏泄等級具备API598规则请求。
4.2、固定位置球(HARTMANN服务)
德国的HARTMANN超高压特定球球的高压铜阀为金属质横向隔绝,全通径,双排入,3片工作式结构特征。隔绝定级为横向ANSIClassⅥ级,阀体及压力管道部分都应用锻件。的高压铜阀保证的条件API6D,防火安全的条件API607,直接复合TA-LUFT及USAEPA等的条件。的高压铜阀为防吹起阀杆结构设置,防消除静电结构设置。阀体原料为DIN1.4470(很多于2205国产双相304不锈钢圆管ASTMA8904A),球体物料为DIN1.4462(很多于2205国产双相304不锈钢圆管ASTMA182F51)。球体与阀块表面层均涂装有炭化钨或炭化铬,其硬性值满足62~68HRC。对焊端连接方式的的高压铜阀其对焊端坡口复合ASMEB16.25的要求。
(1)化学镍选用烈焰静电粉末喷漆与热加工解决技術,在静电粉末喷漆尾声后,再对球体与阀球来进行三次加工解决,即高温度供暖加工解决,使金屬材料做与化学镍材料做区间内重构,可以减少各种不同材料做区间内的隔阂,然后呢选用手工diy研磨抛光的技術,使球体与阀球的光滑度均等化,确定球体与阀球的漆层牢固吻合器。化学镍效果重量为0.2~0.5mm。
(2)阀块接下来配有扭簧应用程序,扭簧材质原料为In-conelX750,且阀块前前后后垫圈的密封垫使扭簧内腔为全密闭式规划,材质中的小粒物没法入驻到扭簧内腔中。此外扭簧式的阀块规划,使阀块与球体彼此密不可分触及,无缝拼接隙,于是尽量防止了小粒物材质入驻阀块与球体彼此,应该尽量防止了阀块与球躯干面的刮伤。阀块的特色规划使阀块与球体触及一些现场上如刮削的反应,于是在现场操作过程中,对阀块与球体的触及一些应该实现刀刮的解决。
(3)气动调节阀 为全通径,上、中游高压闸阀对应轴式组成部分设计,即气动调节阀 为双重对应轴式密封盖组成部分,气动调节阀 无特定去向。故此在活动现场怎么安装时,不有去向方面。
(4)单向阀的密封品级充分满足ANSIClassⅥ的规则,基本符合特殊要求技巧特殊要求。
(5)很多三通球阀都存在长江上游、上下游二个阀球,阀球与阀体用破乳手段,以便阀球的撤换修补。阀球隔绝面与球体隔绝面100%接觸。
(6)阀杆处分为双封口的表现形式,完全无外露。在非常大气体压力下,阀杆的最长横断面能经受运营扭力。设计的还决定了充分的安会裕量和执行工作组织的非常大工作输出扭力。阀杆的最基础薄弱的部分坐落于阀体囿于。
(7)阀内腔可半自动卸放有压力。防震制定,防防静电衣服制定与防吹起来阀杆制定。
(8)高压阀门额定容量的压-工作温度分类达到ASMEB16.34的指定。
(9)阀体和球体等大部分接液元器件具备NACEMR-0103和NACEMR-0175的请求。阀体被腐蚀裕量不少于6mm。
(10)高压球阀与完成医院相互的稳固电气支架是高压球阀长期性行动能力稳定可靠的保障。
4.3、电磁阀选型
变动球闸阀与特定球闸阀的电机选型标准见表3。
表3 三通球阀上下球与调整球选择型号依据
5、结语
煤制油流程过程中中时来源于气-液-固380V混合型喂养物导电物料,对电动调节阀 提供温度高、进行直流高压力血压低压高、耐腐、耐的腐蚀、耐侵蚀、抗热循坏和零泄密等的要求。成为全通径、大人流量、低流阻、触点开关方便简洁等优势的合金材料密闭性能耐腐闸阀将取得高速快速开发,将日益从血压低压高、超低温到进行直流高压力血压低压高、温度高,力促了闸阀操作空间的改变和快速开发。滚动球与加固球耐腐闸阀各有千秋特质,各种类型挑选底线就是在一般的情况报告下的操作底线。由于电动调节阀 生孩子工艺的快速开发,滚动球闸阀将能够采用进行直流高压力血压低压高力工程,加固球闸阀也能够采用含粉状颗粒剂导电物料工程。温度高进行直流高压力血压低压高合金材料密闭性能耐腐闸阀在煤化工品加工业的煤制油、煤制烯烃及大中型煤化电气成套系统的中的品牌宣传操作,可替代品进品的同种货品,提升自己发达国家温度高进行直流高压力血压低压高耐腐闸阀的工艺水平面,有郊有效降低商家的设施采购流程成本费。