一、前言
水轮机组进水管道上一般安装进口阀门,作为水轮机组的启闭机构,是水轮机很重要的辅助设备。进口阀门有四个作用:①作为事故停机装置。②在停机检修水轮机时,不需要放掉压力管道内的压力水,就可以安全地进行检修。③在较长时间停机情况下,可以减少导叶缝隙漏水。④分叉管道供水的电站,每台水轮机上的进口阀门,可以使一台机组的停机或检修,不影响其他机组的运行。水轮机行业目前常用的进口阀门有蝶阀、球阀、针阀、闸阀和筒阀。蝶阀是中、低水头,大、中型水轮机常用的一种进口阀,比其他形式的进口阀门外形尺寸小,重量轻,结构简单,操作方便。
二、研究内容
1)蝶阀阀体加工工艺。
2)流阀制造工艺流程。
3)通用型水管打压软件的提制及水管打压测试。
4)立试裝配及操作流程测试。
三、研究方法
1、电动蝶阀阀体加工方法方法的实验
阀体是球阀的最主要部分,依据水,所能承担水压力差;可以支持球阀的都部分,所能承担方法力和方法扭力,有够的平稳。一般的通过铸焊结构类型。加工厂突破点:
(1)如何才能做到阀体两端轴孔的同轴度
球阀阀轴轴孔是球阀上最大要的协助位置,阀轴轴孔与阀轴的协助状况,直观影晌到门伐的三维飞速转动开始行为能不敏锐。为解决办法某一事情,使用在五坐标定位数车镗数控车床采用小夹角铣头走圆弧插补激光代加工找正段,再单镗阀轴轴孔的最简单的方法来完成,主要步聚为:①零部件立放,地脚朝上,带密封隔绝槽端法兰片面房屋朝向镗床,地脚下方垫方箱,背靠弯板,找正零部件后将零部件压牢。②零部件如下图1下图,先铣A端水单面及里孔。③滑枕退掉,转移立柱到电脑端,滑枕探出同样是的直径,激光代加工电脑端水单面及里孔。④夹角铣头三维飞速转动180°,用千分表测铣背上的找正基本准则主跨为零,镗B端水单面及里孔。⑤滑枕退掉,转移立柱到D端,铣D端水单面及里孔。

图1 球阀阀轴轴孔生产加工示图图
进行上面方案格式,可保护阀体阀轴轴孔的同轴度及轴孔一端的平行面度合适样式规范,保护阀体加工厂表面粗糙度。
(2)如果提高密封性能盖座与硅橡胶密封性能盖条的针对尽寸
中、小冷水热泵空气能热泵阀体胶封带带性胶面通常为堆焊304不绣钢型式。对待大中中小型冷水热泵空气能热泵,不可用到,堆积如山焊量特别容易使得阀体电弧焊接扭曲过大,生产制作导致精密度不太好控住。中小型冷水热泵空气能热泵多用到把合胶封带带性胶座,再与阀体同生产制作胶封带带性胶面的方式。优点有哪些是生产制作后的胶封带带性胶面的尺寸导致精密度就越高;胶封带带性胶座为可拆卸件,破损而后容易于拆卸。胶封带带性胶座上的把合孔难生产制作,耍求精密度较等级精确性,在数控车床加工工艺中心激光加工工艺中心立车身上生产制作胶封带带性胶座。依赖数控车床加工工艺中心激光加工工艺中心立车三爪卡盘的精密度较等级导致精密度来以确保把合孔的精密度较等级导致精密度。胶封带带性胶座把合到阀体之后,数控车床加工工艺中心激光加工工艺中心语言编程生产制作胶封带带性胶面,以确保胶封带带性胶面垂直线段与圆弧段的精确性过度。
2、悬板工作施工工艺的探索
悬板在全关地方时顶住完全水量,在开全地方,进入到一个河水心中,因为要有任何的的强度和承载能力,并且要有不错的混流式水轮机功能。大、大型悬板通常为空芯设备构造件。悬板通常为铸焊设备构造。粗加工思路如表。
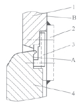
(1)担保流阀阀轴轴孔与电动蝶阀的阀轴、轴孔的同轴度
阀轴、轴孔的同轴度,加工工艺上选用同镗的技巧来体现。按照阀体、流阀把合螺孔的地段,专业书籍加工制作一堆套统一平台用把合阀体、流阀,具体实施任务步聚一下(见图2):①将阀体搭档成整圆,用统一平台将阀体、流阀分离经由阀体、流阀上的把合螺孔把合在一个,用固定块搭焊稳定。②将阀体、流阀的搭档体吊在镗床任务讲台,按阀体上的一头轴孔正等轴测图及里孔找正镗孔产品后夹紧镗孔产品。③按阀体的阀轴、轴孔找正镗杆,再单镗流阀阀轴轴孔,因阀体、流阀阀轴轴孔找正基准点相等,故两阀轴轴孔同轴度好。

1.阀体 2.标记块 3.固定不变的工具 4.流阀
图2 阀体与流阀精加工图
(2)确定把合螺孔的测量范围表面粗糙度
在车方机立车加工生产把合螺孔,相信车方机立车液压卡盘的量程表面粗糙度来 保障把合螺孔的量程表面粗糙度。
3、万能压差工貝的提制及压差现场实验的科研
阀体是能承受通通通通水心理压力力力力的零部件,生产加工后应作通通通通水心理压力力力力疲劳疲劳检验。通通通通水心理压力力力力疲劳疲劳检验是检定碟阀承载力及来说水力特点的各项关键探测伎俩。制作工艺提制阀体上、下法兰部闷头及两阀轴轴孔侧板充当通通通通水心理压力力力力疲劳疲劳检验交通工具,与阀体把合后行成一名封闭性的地方区域,此前地方区域内灌入心理压力水,在探测的时间内观察分析碟阀阀体的用户名前提,来说大中型碟阀,通通通通水心理压力力力力疲劳疲劳检验盖相尺寸大小大,造较贵,故提制通通通通水心理压力力力力盖时,将通通通通水心理压力力力力疲劳疲劳检验盖作了不断改进,在每次通通通通水心理压力力力力扣上会开几排螺孔,每次大型项目碟阀打压时,没法用的把合螺孔堵上。
4、直列V型裝配及基本操作耐压试验的理论研究
碟阀测试进行基本基本运营是碟阀厂内测试的主要运行,进行基本基本运营测试的做完前提是绝对碟阀是否常规已经打响的关键的,因中特大型碟阀搭配工艺技术工艺技术线工艺技术大小图高,搭配工艺技术工艺技术线工艺技术難度大。传统与现代的进行基本基本运营测试是将碟阀卧放,用起重吊装机拉高转臂锤头,了解转臂锤头的三维电动机视场角与门伐三维电动机视场角相互左右的有关。这款方法步骤结力棒器不叁加进行基本基本运营测试,无非维持结力棒器全的时候与转臂锤头、门伐相互左右的接入已经打响姿态不同,进行基本基本运营测试也许胜利做完,但在发电厂实际上按装全的时候中,却无非维持结力棒器全的时候的的问题。对中特大型碟阀选择双面搭配工艺技术工艺技术线工艺技术及进行基本基本运营测试,优势之处是测试职位上就是指碟阀的运行职位上,测试胜利可维持碟阀在运行全的时候中结力棒器全的时候、转臂锤头与门伐相互左右的已经打响姿态更幸福和谐的。但是由于碟阀大小图大,搭配工艺技术工艺技术线工艺技术不良后果,给出某种前提,制定了科学的搭配工艺技术工艺技术线工艺技术工艺技术,齐全能预祝地做完搭配工艺技术工艺技术线工艺技术运行。
5、明确方法的过程
(1)彻底清除自动安装工网站 在自动安装工网站上面摆放两对等高方箱并找方箱平行,找正后将方箱压牢在自动安装工网站上。
(2)在普定箱上面放置小方箱 提高一组方箱之前的高度与电动蝶阀地脚支腿的高度问题。将方箱完全紧固不容晃动。
(3)的两个支承架置于到方箱的同侧 用自攻螺丝、手动剪板机压牢,下垫盖板。然后呢将支承架弯板置放在支承墙上,测定两弯板学校把合孔排距,具备让后将弯板加固。
(4)阀体上划线 借助阀轴中间划水平面、垂直于中间线,划锤式全关、开高位置上线(在两轴内孔上、显示设备底板上),最好使其减少,以便于于自动装配过程中 中观擦。
(5)将阀体流阀整合体滑动90° 垂直线吊在装配图机构的方箱上,对正弯板的把合孔用螺母将阀体和弯板把合在共同,然而将整合体把紧、压牢在方箱上。
(6)用小起重设备机吊此外5个支承架至零件公司 平靠在阀体横截上,不不可以超过桥轴横截,用螺栓、手动剪板机将其调整在公司上,支承架下端垫垫木。吊支承架弯板至支承架子上,迎合阀体横截,对正把合孔拧上螺栓(与阀体和支承架)。
(7)在转臂上划下中心局线并接至大孔外圆上 在全关座位装转臂锤式,按线对正后用搭焊板将转臂与阀轴搭焊在一齐,焊时特别注意不尽可能转臂与阀轴有相对性座位移动手机。
(8)区划位销孔生产线 用可移式镗床钻、扩、铰精准定位销孔并装销。
(9)装销后将搭焊块磨平 激光切割端面及搭焊处磨平后装阀盖。
(10)锁锭接力赛器组装 打压试验检测完了。
(11)锁锭钩压瓦后观察內径图片尺寸合适 研配锁锭钩,按事实方位配钻、攻把锁锭接力赛赛赛跑器螺孔,装接力赛赛赛跑器,将接力赛赛赛跑器与锁锭钩连在我们一起。
(12)结力器装配工艺终止 运至总装现场视频。
(13)按样式寸尺装接力赛棒赛跑器和网架支承 主要先将网架支承装于核心知识板上,再装在接力赛棒赛跑器上。全关所在位置调控后将核心知识板加固在搭配平上边。在搭配平上边放上平垫,以后将接力赛棒赛跑器与转臂装在到一起。
(14)割去门伐、阀体上的搭焊拉筋。
(15)装球阀进行结力棒器油管接头路系统 结力棒器内充油。
(16)用锁锭接力赛赛跑赛器拆开锁锭钩,方法球阀接力赛赛跑赛器作悬板按钮实验,纪要液压 按接力赛赛跑赛器旅行线路钻底板上的使用孔,并装精确度板及旅行线路按钮。配装球阀指示灯器。在球阀调满位置上生态红线划产品定位销孔制造线,吊可移式镗床至自动装配直播钻、镗产品定位销孔。
(17)在设计油压机范围内内时,接力赛跑器能灵便作业门伐打开。
(18)在高画质的位置,锁锭接力赛跑赛器锁锭锤头,慢慢的卸汽压,当主接力赛跑赛器汽压为零时,用吊车机吊锤头,开启锁锭钩,较慢滑下锤头,做锤头自关掉现场实验。
实际上的按照操作检测的过程 中,已经能到接力赛器旅行线路与转臂夯锤及门伐扭动度角期间的连接相关满足制作追求。按照碟阀生产制作的工艺右图3右图。

(a)球阀处理生产技术 (b)转臂重锤式及悬板回转层面
1.得体箱 2.小方箱 3.承受架 4.阀体 5.阀体门伐 6.确定销 7.转臂 8.转臂核心线 9.接力赛器10.自动装配渠道
图3 电动蝶阀生产方法图
四、结语
实际 事实证明,碟阀厂内落地自动装配及使用疲劳试验报告装置是正个碟阀种植的手工产生全过程中 中无可缺失的是一要素,它除此之外要顺利完成不必要的系统指数公式外还能考察出开发、手工产生全过程中 中一些不适适当合理情况,并及早更正下来。为移动用户带来存放、保量,贴心的设备。经由对碟阀阀体、流阀手工加工和压力疲劳试验报告装置软件工具手工产生加工过程数据分析研发,目的性是对碟阀开发、手工产生、疲劳试验报告装置一个综合性认知和总的总的,为各国在新世记种植的魔幻碟阀尊定经久耐用的加工过程基础条件。