数据分析了楔式闸阀及抛物线线双闸板闸阀的组成特征和不到,说了楔块式抛物线线双闸板闸阀的能力。
1、评述
由于全球能量工业园化和机械性工业园化的的发展,许多 调节阀 已改变产的化,但仍有部位调节阀 想要从全球外国外进口,其中的有垂直双闸板闸阀。制造工艺垂直双闸板闸阀既能拉低发电厂的制作总成本,又能增加全球发电厂调节阀 的工艺意识。
2、的结构特别
闸阀类型无数,利用闸板形状图片大全可分楔式闸阀友谊行式闸阀。
2.1、楔式闸阀
楔式闸阀三个人胶封盖圈隔绝性能面与管材中轴线排成定的临界角,即三个人胶封盖圈隔绝性能面成楔形。楔式闸阀常見的型式是楔式单闸板闸阀( 图1) 和楔式双闸板闸阀( 图2) 。楔式单闸板闸阀型式简约,布置更方便,选用靠谱,但调节阀对胶封盖圈隔绝性能面斜度的精密度特殊要求较高,制作维护比的困难,一半出产营造机构只可配作,產品无对调性。调节阀上线刹那间长期存在很高的静静摩擦力力,上线转矩大,须设备较少电机功率的自动完成部件,能力以确保正常情况开启闭合,但过大的退出转矩易会导致胶封盖圈隔绝性能面受伤及闸板楔住。在室内温度变高情况下,因此装修材料抗弯强度大大减少,胶封盖圈隔绝性能面的洛氏硬度的降低,胶封盖圈隔绝性能副趋于胶合情况,在此但如果退出转矩失当,闸板楔住的会性比大。

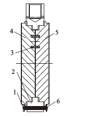
图1 楔式单闸板构成
1. 下隔板2. 顶芯3. 闸板架4. 左闸板5. 上隔板6. 右闸板

图2 楔式双闸板
楔式双闸板闸阀对封好圈面视角的表面粗糙度规定要求较低,需要采用左右侧闸板当中的万向顶芯修改封好圈面的视角,以补救封好圈面视角在制造时导致的较差,有时封好圈面刹车盘磨损时需要在万向顶芯角度加密封垫赔偿金,的同时减少了在室温变高时闸板楔住的将会性。但其闸板部件零件图较多,结构类型涣散,闸板易掉下来,靠得住能力差,多发生阀杆根处退刀槽或销孔处碎裂、上上下下档板脱漆致闸板掉下来或闸板架碎裂等错误代码。
2.2、平行面双闸板闸阀
水平线双闸板闸阀的组成优点和缺点重要取决于作用闸板的撑开手段,基本可以分为扭簧式和楔式。
拉簧片式组成平行线双闸板闸阀( 图3) 的闸板配置文件核心有差不多闸板、闸板架、拉簧片、精准确定功能套和螺柱等产品组合而成,拉簧片最大数一样 为这三个锥形拉簧片。口子径调节阀是由于受房间局限一样 为单体拉簧片,且无精准确定功能套,单凭下方阀块对闸板精准确定功能。调节阀开裆寸尺及拉簧片预紧力设定相比省事,生产制造相对应简约,运用十分多见的。但拉簧片力的设定不可把控好。拉簧片力过大,会会形成调节阀锁闭不灵便,在锁闭环节中出口额侧封好面心理心累,极易磨花磕伤。拉簧片力过小,调节阀保持关停环境下,不到位以组成封好面的必需品比压,易会形成氯气泄露,尤其是是在低电压有机溶剂环境下。在耐高温环境下,拉簧片常年保持相应环境,有也许 显示没用。

1. 精准定位套2. 闸板架3. 弹簧片4. 左闸板5. 右闸板6. 螺柱
图3 螺旋弹簧式直线双闸板框架
楔式平形双闸板闸阀可分为上楔式( 图4) 和下楔式几种。上楔式是靠阀杆头号的斧形扁锥头插进双闸板两者之间实现目标撑开以内闸板的构造。止回阀关了时,阀杆驱动闸板向外运功,当闸板架下部分碰着阀体上端的确定螺母时,阀杆仍然下行带宽速度撑开以内闸板,以可达了填料填料抽真空想要。下楔式和上楔式的注意不同于是斧形扁锥头上芯在下部分,安装程序在闸板架上端的确定孔内。当止回阀关了时,顶芯先压住阀体上端的确定凸台,阀杆驱动闸板仍然下行带宽速度,使顶芯从后面撑开以内闸板以可达了填料填料抽真空所用的填料填料抽真空比压。
上楔式平形线双闸板闸阀在取消全过程中,闸板遭遇媒质风阻的推压,填料胶封面的滑动摩擦风阻曾大,有有可能在闸板架无不力的情況下就撑开左古闸板,因为取消而非难度,闸板随时下行带宽易引致填料胶封面摩擦、割伤,甚至于取消不不力,印象一部分模式的合适运作,还有就是安装使用时会根据需调节导航定位高强螺栓的极高,更死板。下楔式平形线双闸板闸阀在成分上削除了电动阀门取消不需要位的问題,但成分繁杂,对闸板架、顶芯的加工处理精准度较高,还有就是对顶芯的建材当然也有一些 规定要求。

1. 市场定位螺钉2. 闸板架3. 阀杆4. 左闸板5. 右闸板6. 阀体
图4 上楔式水平线双闸板设备构造
2.3、楔块式倾斜角双闸板闸阀
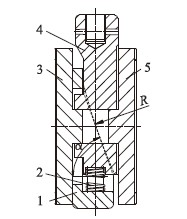
楔块式垂直双闸板闸阀的闸板工件( 图5) 由前后闸板、上下两边楔块( 前后板架) 和大弹簧等工件分为。调节阀 关上时,安装安装驱动安装仪器实现阀杆螺母起到阀杆朝下中长跑。情况下楔块触碰到阀体边侧的品牌定位凸台时,阀杆安装安装驱动安装上楔块仍然下滑。下滑流程中阀杆轴上力转变成为前后阀块良好的良好的密封圈性性力,高达稳定良好的良好的密封圈性性。调节阀 打开时,安装安装驱动安装仪器起到阀杆学习中长跑,阀杆起到上楔块使其与下楔块分离处理。当阀杆头顶与上良好的良好的密封圈性性座打交道时,闸板工件打破渠道实现打开的动作。

1. 下楔块2. 气弹簧3. 左闸板4. 上楔块5. 右闸板
图5 楔式抛物线双闸板结构的
上、下楔块的碰到为线碰到,上楔块为曲率半径R的圆弧面,下楔块为层面α 的斜面,前后楔块碰到时为那条线,还是可以减少两楔块范围内运作时的耐滑动摩擦,下降阀杆的win7推动安装安装安装剪力。致使楔角多少真接决定调节阀解锁闭合剪力的多少。能够 构思正确的楔角,还是可以大于阀杆的win7推动安装安装安装剪力,下降win7推动安装安装安装控制系统定级,不浪费的行为制做制造费,时候避免出现前后楔块的自锁,确定调节阀健康解锁。在上、下楔块范围内设计一名雷韵螺旋扭簧片,一是在解锁时能够 螺旋扭簧片预紧巨作使用于上楔块,给其三乐观的用途力,大于阀杆在解锁一刹那的win7推动安装安装安装剪力,二则在闭合目前楔块碰到阀体尾部精确定位的一刹那,致使win7推动安装安装安装控制系统的win7推动安装安装安装剪力大,阀杆的心轴力大,螺旋扭簧片还是可以缓冲区上楔块对下楔块的波动剪力。

(a) 关的情况下(b) 打开的情况下
图6 开闭时候中闸板与高压闸阀的较为方位
在开启闭合的过程 中,犹豫左右侧楔块是圆弧面与斜面线玩,磨擦力小,用弹簧片预紧力使上、下楔块产生比较技术位移( 图6) ,保证 闸板与阀块两填料密封胶面破乳,减低填料密封胶面中间的磨擦,若想减小或增大阀杆的控制载荷,也降低高溫心态下闸板楔住的发勃勃生机率。犹豫左右侧楔块在启用时为线玩,压力较大的,故在设计方案研发时要对左右侧楔块玩面对其进行淬火或堆焊聚酯板镍钢,提升抗磨损性,调长使用的蓄电量。
3、结语
楔块式直线双闸板闸阀挤压力小,驱动包载荷小,密封隔绝性好,耐磨性损,性能参数平稳,于于超大型火力发电厂和核电建设空气能热泵。