槽车用安全阀的结构与特点
2020-04-26 真空技术网整理 阀门手册
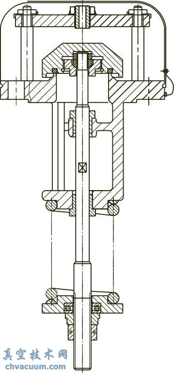
犹豫槽车的比较特殊功用,槽车用平安阀安转在槽车的顶面,高过槽车罐体的间距遭到制约。图1、图2都为预置式和外置式平安阀的组成图,槽车用平安阀实现法兰盘立即与被保护区安全装置连在一起。 预置式防护性高阀为避免在被保护区防护装置外边的探出长度,将阀瓣和阀块等零机件都配置在安转法兰片的下端,物质排放量出口到简单往右,阀瓣包含固定住或能自由调节整的反冲盘框架,隔绝性面适用软隔绝性结构类型,这样防护性高阀主要是代替煤气中国石油气区等物质油罐车上。


















依据对泄压阀的動作性能特点概述,改进了阀体的结构设计,提高了了泄压阀的使
探讨了核电建设站弹簧片式应急卫生阀的颤震的情况,解绍了解到决应急卫生阀颤震的情况