聚丙烯环管反应器用安全阀的结构与特点
2020-04-26 真空技术网整理 阀门手册
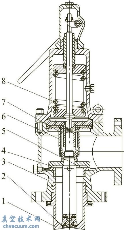
聚丙乙烯环管反映迟钝器安全卫生性高阀是当做聚丙乙烯环管反映迟钝器的安全卫生性高附属品,是按照环管反映迟钝器的特殊性规定而专做的设计的,以下的图图示。其构成特征如:

聚丙乙烯环管反映迟钝器安全卫生性高阀是当做聚丙乙烯环管反映迟钝器的安全卫生性高附属品,是按照环管反映迟钝器的特殊性规定而专做的设计的,以下的图图示。其构成特征如:

浅析了蒸汽式蒸气锅炉主稳定阀普通系统出现故障生成的原故,解绍了几种系统出现故障的处
试述了以免存储罐内部管理发现过压安全事故的技能控制措施;诠释了近几年中国国纵向普
本论文区分以弹簧片一直负载式很安全卫生阀和先导式很安全卫生阀试对,进一歩原因分析
选文注意对怎么样去对吊车起升油缸卫生阀设计的概念与应力测试开展工作小结,以及对
介召了应急阀和工程爆破片的特性、软件区域以其应用中应目光应当。
按照液压机装置中的过滤管阀目的, 按照了石油线路线路上引进人才的直流高压阀, 设
经由对泄压阀的工作性状概述,升级优化了闸阀的组成部分,增强了泄压阀的使
说明了安全防护阀在的品质、设计、安装使用和较验上常见的一系难题。
概述了核电厂站弹簧片式防护阀的颤震这种现象,清楚清楚决防护阀颤震这种现象
稳定阀一直在线验校核算整定学习压力的要点技巧问题是密封性面核算直劲的取