一种用于输油管道安全保护的高、低压泄压阀
2013-06-19 刘洁 东北输油管理局
为了让解决办法长输石油pvc管路因遇莫名其妙死亡事故对机、泵、阀等机 及pvc管路的损环,以有效保障了稳定趋于稳定地输油管线管管,在输油管线管管pvc管路能装设稳定保证部件是万分需要的。咱们可根据液压机系统中的溢出阀基本原理,参照物了输油管线管管pvc管路上吸引人才的直流髙压阀,来设计出一个轻型的利用于长输石油pvc管路上的稳定保证部件——先导式自动四轮直流髙压阀及气-液阻尼式自动四轮血压低压高泄压阀。
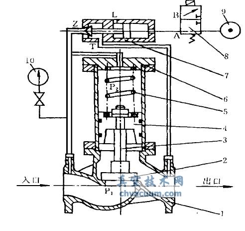
一、高压阀的结构及其原理
1、构成 学习压力泄压阀(见图1) 核心由三个大一些組成。即主阀体1、液压装置多路阀缸一些和导阀7,进来液压装置多路阀缸一些包涵缸体6,拉簧5,活塞环式4,活塞环式杆3,填料密封盖2 等。与该阀配备用到的邮件附件核心有:防暴型电网络节点学习燃气压力表10,防暴型电磁感应换相阀8,源即N2瓶9 等。 2、的工作远离 如下图1,当源油按照阀的考区流到阀体接下来,按照阻尼油管接头J流到主阀芯(还有:柱塞4、柱塞杆3、封好隔绝盖2)上腔,即手动液压油泵的上腔,同也流往导阀7 的考区Z 处。在此随着汽源氦气经济负荷的功用,导阀地处停用程序。当主阀芯的上腔经济负荷源油充电接下来,其内外腔经济负荷将达标动动平衡机机程序,但随着柱塞4的设计户型比封好隔绝盖2 的户型稍大部分,由于,在导阀地处停用的具体条件下,主阀芯上腔的经济负荷P2将不超下腔的经济负荷P1,这类主阀芯必需向外运动,直至封死主阀口就要,当阀口被封号去逝,泄压解除,主阀芯上、下腔经济负荷动动平衡机机全新成立,即P2= P1。当导阀源油经济负荷高而开起时,则不因阻尼管的来源于,P2骤降,主阀芯下端经济负荷P1不超其上面功使力P2,使主阀芯提拔,泄压阀刚刚开始泄压,由于,真空箱方法网(//crazyaunt.cn/)以为合适的地调定导阀7的氦气经济负荷值,就能可以有效地掌握主阀芯内外两腔的经济负荷,使主阀芯提拔,并保持良好维持一些 的封口量,进而保持良好维持地埋管出站经济负荷的维持,并放到地埋管超压保护。
电磁阀的另一个作用是:可在低压泄压阀的入口处(即输油泵的进口) ,安装一块防爆电节点压力表,其表的下限位调至泵入口压力的最低允许值,一旦泵入口压力超低,降到此值时,则触点接通,控制电磁阀动作,高压泄压阀泄压,这样可以防止入口压力超低现象的出现。
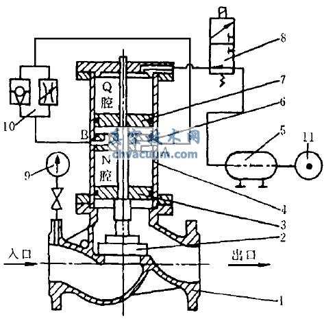
二、低压泄压阀的结构及其工作原理
1、结构设计 低压低泄压阀(见图2) 通常有两种要素构成,即阀体1 随和、液阻尼缸。气、液阻尼缸要素收录有:上柱塞杆环7,下柱塞杆环3,缸体4,柱塞杆环杆6,封闭盖2 等。与之配套方案食用的超大附件有单通道节流阀10,防燃电构件经济燃气压力表9,磁感应换相阀8,氦气罐5,氧气减压阀4 等。
















用对泄压阀的姿态特征参数定量分析,调整了气动阀门的构造,增进了泄压阀的使
研究了核电建设站扭簧式可靠阀的颤震缘由,价绍明白决可靠阀颤震后果