光纤密封转接的氦质谱检漏技术研究
2009-11-11 胡茂中 西北核技术研究所
为解决光纤进入钢制容器时造成的泄漏问题,密封转接是一种有效方法。在容器上开口并安装转接法兰盘,可实现多根光纤密封转接。由于光纤纤芯较脆,密封转接时需保持连续性,密封处理难度大。因此,一般采用特殊的灌胶密封结构形式,其密封缺陷的存在形式和查找方法也较复杂。为满足光纤转接的密封性能检测要求,开展了相关氦质谱检漏技术研究。建立了光纤内部密封缺陷的高灵敏度定量检测方法,为光纤转接的密封性能评估和缺陷提供准确可靠的检测数据。
1、光纤转接密封结构与缺陷分析
1.1、光纤转接密封结构
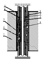
通过光纤转接盘的每根光纤配备一个转接器,转接器与光纤之间的密封方法是:光纤连续穿过转接器的中心通孔,将处于转接器内部的光纤段割掉保护层裸露纤芯并对转接器中心孔内灌胶填充实现密封;转接器通过螺纹压环、定位卡环和真空橡胶垫圈安装固定在转接盘上(如图1)。一个转接盘可同时转接数十根光纤。

1.2、光纤转接结构密封缺陷分析
金属电话转接节构已经发生密闭常见问题有: (1)网络光纤电话电话转接器与电话电话转接盘间的密封垫 光纤线宽带转移器配置在转移盘时最主要的能够在3个重金属面间压入正空产品垫圈推动胶封,鉴于转移盘上的胶封加上面为沉孔台肩,仍未推动高精密度粗加工,造成现在如下图1已知空间架构没办法非常好地受到限制垫圈的径向易变型,垫圈受拉易易变型错乱,胶封动态平衡性能差,稍有不小心易造成胶封不起作用。以致光纤线宽带转移器与转移点间的加上空间架构是胶封的存在问题节点,也是检漏的特别。 (2)光纤宽带与呼叫转移器间的隔绝 连接器外部的金属通孔较长且直经小,通孔内灌胶易于紧实,固体内有可以的存在泡沫、龟裂等异常现象。最后,轻微的触碰或平均温度等工作环境状况的发生的变,有可以所致固体同连接器开口处、金属当中的组合情形的发生改进,为了达成裂缝、产生漏孔,和导至应有异常现象增大全线贯通而达成泄露车道(如2所显示)。金属从内至外不同有金属芯、固定不动住层、抗震层及内再生层四层,各层当中油隙之中(这当中固定不动住层与内再生层当中的抗震层质材不结实)。上述所说各层间未作封好补救,在相关前提下,有可以制成泄露车道。总之,光纤的密封处理结构中,可能存在的泄漏通道有两种:一种贯穿整个灌胶层而连通转接器上下两端(图2所示泄漏通道Ⅰ),这种漏孔在转接器外部喷氦就可以被查找到;另一种未贯穿整个灌胶层但连通转接器两端光纤保护层间隙(图2所示泄漏通道Ⅱ),这种漏孔需要在光纤内部施氦才能被检测到。

2、转接器与转接盘之间的密封检测
采用喷吹法对转接器与转接盘间的橡胶垫圈密封性能检测,并判断转接器内部灌胶是否存在连通转接器上下两端的超标漏孔。












氦质谱检漏方法是真空体检漏的领域里不易缺失的一款方法,用这款方法
会按照被检件的校正依据也可以将氦质谱检漏最简单的方法分类哪几种类型的,的一种是
大储罐检漏技术应用,中国大陆外的具体方法滴水泡法、火烛法、菌物法、洗衣粉法
法律依据毛细管端泡沫确立的几乎概念, 一起探讨泡沫检漏法的设计原理、渗漏率
用具有卤素灯泡灯泡(氟、氯、溴、碘)的有机废气混合气体为示漏有机废气混合气体的检漏机器设备称作卤素灯泡灯泡